PENGENDALIAN LENGAN ROBOT PNEUMATIK PEMINDAH PLAT MELALUI BLUETOOTH DENGAN HANDPHONE BERTEKNOLOGI JAVA
on
Pengendalian Lengan Robot . . .
Sumardi dkk
PENGENDALIAN LENGAN ROBOT PNEUMATIK PEMINDAH PLAT MELALUI BLUETOOTH DENGAN HANDPHONE BERTEKNOLOGI JAVA
Sumardi, Maman Somantri, Edi Sunardi
Laboratorium Teknik Kontrol Otomatik
Jurusan Teknik Elektro Fakultas Teknik Universitas Diponegoro [sumardi, mmsomantri]@elektro.ft.undip.ac.id
Intisari
Bluetooth merupakan teknologi yang berkembang sebagai jawaban atas kebutuhan komunikasi antar perlengkapan elektronik agar dapat saling mempertukarkan data dalam jarak yang terbatas menggunakan gelombang radio dengan frekuensi tertentu. Salah satu implementasi bluetooth yang populer adalah pada peralatan ponsel. Bluetooth adalah teknologi radio jarak pendek yang memberikan kemudahan konektivitas bagi peralatan-peralatan nirkabel. Teleoperasi atau telekontrol merupakan kemampuan untuk melakukan pengendalian dan pengoperasian suatu peralatan dari jarak jauh tanpa operator manusia. Sistem seperti ini sangat diperlukan untuk keperluan sistem pengendalian yang mengandung resiko besar bagi operator manusia, seperti operasi dalam reaktor nuklir. Sistem teleoperasi dibangun sebagai solusi yang dapat digunakan untuk menjamin keselamatan bagi operator manusia tanpa mengurangi keberhasilan dari proses yang berlangsung. Dengan memanfaatkan handphone yang mempunyai fasilitas Bluetooth dimungkinkan membuat suatu jaringan lokal untuk membangun suatu sistem teleoperasi dengan biaya murah dan efisien.
Java yang merupakan bahasa pemrograman yang berorientasi objek mempunyai 3 lingkungan kerja baik untuk aplikasi Desktop (Java 2 Standard Edition), aplikasi Enterprise (Java 2 Enterprise Edition) maupun aplikasi untuk device dengan memori minimal (Java 2 Micro Edition). Serta API java yaitu JSR-82 yang mendukung pemrograman dengan Bluetooth dapat dikembangkan untuk membangun suatu sistem teleoperasi dengan media perantara bluetooth. Aplikasi dapat dibuat dengan midlet Java yang diinistal pada handphone yang mendukung teknologi Java serta adanya perangkat bluetooth.
Sistem teleoperasi yang dibuat dapat berfungsi dengan baik untuk melakukan pengendalian robot pneumatik menggunakan PLC dengan keberhasilan mengirimkan perintah – perintah ke server dan meneruskannya ke PLC dan dapat mengolah data umpan balik dari PLC menjadi tampilan visualisasi animasi gerakan robot sebagai antarmuka untuk klien. Agar proses pengendalian dapat berjalan dengan baik maka posisi penempatan plat harus tepat pada posisi peghisapan. Komputasi pada sisi klien dibuat seminimal mungkin karena keterbatasan memori dan prosesor di handphone. Jarak koneksi antara klien dengan server adalah maksimal 35,73 meter untuk tanpa halangan dan 14,7 meter untuk koneksi dengan adanya halangan.
Kata Kunci : Teleoperasi, Bluetooth, Java, PLC, Lengan Robot Pneumatik
Dalam industri yang memiliki plant – plant dengan tingkat resiko bahaya yang cukup tinggi telah melakukan implementasi teknik pengendalian dan pemantauan melalui jarak jauh (teleoperasi).
Perkembangan teknologi bluetooth sebagai komunikasi wireless yang biasa digunakan untuk transfer data antar perangkat seperti pada handphone.
Dalam penelitian ini dilakukan implementasi suatu sistem teleoperasi melalui bluetooth terhadap plant Lengan Robot Pneumatik Pemindah Plat yang digerakkan menggunakan PLC. Sistem teleoperasi yang dibangun memanfaatkan teknologi Java yang memungkinkan pengendalian terhadap plant dapat dilakukan melalui handphone.
Tujuan dari penulisan penelitian ini adalah mengimplementasikan sistem teleoperasi melalui
bluetooth pada pengendalian plant Lengan Robot Pneumatik Pemindah Plat menggunakan PLC (Programmable Logic Controller). Pengendalian dilakukan melalui handphone yang dibangun dengan menggunakan teknologi Java 2 Micro Edition yang didukung dengan teknologi bluetooth.
Dalam penelitian ini dilakukan pembuatan perangkat lunak teleoperasi melalui bluetooth pada pengendalian lengan robot pneumatik menggunakan PLC (Programmable Logic Controller) dengan menggunakan bahasa pemrograman Java.
Adapun yang menjadi batasan masalah dalam penelitian ini adalah sebagai berikut.
-
1. Plant yang dikendalikan adalah plant Lengan Robot Pneumatik Pemindah Plat menggunakan PLC.
-
2. PLC yang digunakan adalah LG Master - K30H
-
3. Antarmuka komunikasi dengan plant dilakukan melalui RS232.
-
4. Sistem mekanik dan pneumatik yang terdapat pada plant tidak dibahas secara mendalam.
-
5. Perangkat lunak dibuat dengan menggunakan bahasa pemrograman Java 2 dengan versi SDK 1.5.0 update 9.
-
6. Aplikasi server dibuat menggunakan Java pada sistem operasi Windows XP Professional Service Pack 2.
-
7. Protokol komunikasi bluetooth dengan
-
menggunakan Serial Port Profil.
-
8. Antarmuka perangkat lunak disisi klien berupa Midlet Java yang diakses melalui handphone.
-
9. Handphone yang digunakan adalah handphone yang telah mendukung Java dan bluetooth.
Teknologi teleoperasi merupakan teknologi yang berhubungan dengan interaksi antara manusia dengan sistem secara otomatis dari jarak yang jauh.
Ide awal penerapan sistem teleoperasi ini bertujuan untuk digunakan pada kondisi lingkungan yang sangat berbahaya dan tidak terstruktur sehingga situasi lingkungannya tidak dapat diperkirakan secara tepat, misalnya daerah pertambangan, pembuangan limbah bom, dasar laut dan lain sebagainya. Untuk itu diperlukan suatu sistem yang mampu menjamin keselamatan dan kenyamanan operator selama bekerja dalam lingkungan tersebut.
Secara umum komponen dasar dari sebuah sistem teleoperasi diperlihatkan pada gambar 1.

Peralatanyang dikendalikan
Operator
Gambar 1 Komponen dasar sistem teleoperasi
Dalam sistem teleoperasi, secara garis besar terdapat dua buah komponen utama yaitu bagian pengendali lokal (Local Site) dan bagian pengendali sisi jauh (Remote Site).
Pengendali lokal merupakan bagian pengendali oleh operator, sedangkan bagian pengendali sisi jauh (Remote Site) adalah bagian yang berhubungan langsung dengan peralatan yang dikendalikan
Bluetooth adalah sebuah teknologi komunikasi wireless (tanpa kabel) yang beroperasi dalam pita frekuensi 2,4 GHz unlicensed ISM (Industrial, Scientific and Medical) dengan menggunakan sebuah frequency hopping tranceiver yang mampu
menyediakan layanan komunikasi data dan suara secara real-time antara host-host bluetooth dengan jarak jangkauan layanan yang terbatas. Bluetooth sendiri dapat berupa card yang bentuk dan fungsinya hampir sama dengan card yang digunakan untuk wireless local area network (WLAN) yang menggunakan frekuensi radio standar IEEE 802.11, hanya saja pada bluetooth mempunyai jangkauan jarak layanan yang lebih pendek dan kemampuan transfer data yang lebih rendah.
Nama bluetooth berawal dari proyek prestisius yang dipromotori oleh perusahaan-perusahaan raksasa internasional yang bergerak di bidang telekomunikasi dan komputer, di antaranya Ericsson, IBM, Intel, Nokia, dan Toshiba. Proyek ini di awal tahun 1998 dengan kode nama bluetooth, karena terinspirasi oleh seorang raja Viking (Denmark) yang bernama Harald Blatand. Raja Harald Blatand ini berkuasa pada abad ke-10 dengan menguasai sebagian besar daerah Denmark dan daerah Skandinavia pada masa itu. Dikarenakan daerah kekuasaannya yang luas, raja Harald Blatand ini membiayai para ilmuwan dan insinyur untuk membangun sebuah proyek berteknologi metamorfosis yang bertujuan untuk mengontrol pasukan dari suku-suku di daerah Skandinavia tersebut dari jarak jauh. Maka untuk menghormati ide raja Viking tersebut, yaitu Blatand yang berarti bluetooth (dalam bahasa Inggris) proyek ini diberi nama.
Pada Penelitian ini komunikasi Bluetooth digunakan oleh dua buah perangkat, yaitu komputer (PC) dan telepon genggam. Penggunaan komunikasi Bluetooth untuk kedua perangkat ini kurang lebih sama. Pada telepon genggam untuk memulai suatu koneksi, maka pertama yang harus dilakukan adalah mengaktifkan fasilitas bluetooth terlebih dahulu. Kemudian dilanjutkan dengan pencarian (inquiry) sinyal bluetooth dari perangkat lain. Apabila telepon genggam berada dalam jangkauan pancaran sinyal bluetooth oleh perangkat lain dan perangkat tersebut memiliki layanan (service) yang diinginkan, maka dapat dibangun koneksi ke perangkat tersebut.
Komunikasi Bluetooth PC pada penelitian ini memiliki persyarata-persyaratan khusus. PC pada umumnya tidak memiliki komunikasi Bluetooth, jadi untuk dapat menggunakannya PC harus dihubungkan dengan perangkat bluetooth tambahan (bluetooth dongle), seperti USB Bluetooth Adapter. Untuk merek-merek Bluetooth Adapter tertentu, ada yang sudah dapat langsung dikenali oleh sistem operasi seperti Microsoft Windows XP Service Pack 2, sehingga tidak perlu menggunakan driver lagi. Setelah Bluetooth Adapter terinstalasi di PC, maka
untuk memulai komunikasi perangkat ini harus dapat ditemukan oleh perangkat lain (discovery on).
Protokol-protokol bluetooth dimaksudkan untuk mempercepat pengembangan aplikasi-aplikasi dengan menggunakan teknologi bluetooth. Layerlayer bawah pada stack protokol bluetooth dirancang untuk menyediakan suatu dasar yang fleksibel untuk pengembangan protokol yang lebih lanjut.
Tabel 1 Protokol-Protokol Dan Layer-Layer pada Stack Protokol Bluetooth
|
PROTOCOL LAYER |
PROTOCOL IN THE STACK | |
|
Bluetooth Core Protocols |
Baseband, LMP, L2CAP, SDP | |
|
Cable Protocol |
Replacement |
RFCOMM |
|
Telephony Protocols |
Control |
TCS Binary, AT- commands |
|
Adopted Protocols |
PPP, UDP/TCP/IP, OBEX, WAP, vCard, vCal, IrMC, WAE | |

Gambar 2 Bluetooth protocol stack
Tiga buah lapisan fisik yang sangat penting dalam protokol arsitektur Bluetooth ini adalah :
-
1. Bluetooth radio, adalah lapis terendah dari spesifikasi Bluetooth. Lapis ini mendefinisikan persyaratan yang harus dipenuhi oleh perangkat tranceiver yang beroperasi pada frekuensi 2,4 GHz ISM.
-
2. Baseband, lapis yang memungkinkan hubungan RF terjadi antara beberapa unit Bluetooth membentuk piconet. Sistem RF dari bluetooth ini menggunakan frekuensi-hopping-spread
spectrum yang mengirimkan data dalam bentuk paket pada time slot dan frekuensi yang telah ditentukan, lapis ini melakukan prosedur pemeriksaan dan paging untuk sinkronisasi transmisi frekuensi hopping dan clock dari perangkat bluetooth yang berbeda.
-
3. LMP, Link Manager Protocol, bertanggung jawab terhadap link set-up antar perangkat Bluetooth. Hal ini termasuk aspek securiti seperti autentifikasi dan enkripsi dengan pembangkitan, penukaran dan pemeriksaan ukuran paket dari lapis baseband.
Java adalah bahasa pemrograman komputer berbasis pada Object Oriented Programming. Aplikasi yang dihasilkan dengan bahasa Java dapat berupa aplikasi mandiri yang dijalankan dengan Java interpreter maupun berupa applet (aplikasi kecil yang berjalan diatas web browser).
Java menyediakan beberapa kelengkapan dan keunggulan yaitu antara lain : simple, object oriented, portable, robust, secure, dll.
Dalam lingkungan pengembangan java, terdiri atas dua bagian yaitu Java Compiler dan Java Interpreter. Java berjalan diatas Java Virtual Machine yang platform specific, sehingga setiap sistem akan berlaku sama. Hal ini menghasilkan kelebihan dalam portabilitas namun juga menghilangkan kemampuan untuk mengakses perangkat keras secara langsung dalam sistem tersebut.

Gambar 3 Mekanisme eksekusi dan kompilasi Java
Java menyediakan dukungan yang luas untuk penggunaannya dalam pemrograman bluetooth. Dengan API jsr-082 java menyediakan library untuk pemrograman dengan bluetooth.
Pengaksesan perangkat keras masih mungkin dilakukan dengan adanya mekanisme dalam bahasa Java yang disebut Java Native Interface dimana memungkinkan bahasa Java dapat memanggil fungsi
atau metode native yang ditulis dalam bahasa pemrograman lain yang platform specific (misalnya C/C++) yang kemudian dapat dieksekusi oleh Java.
Khusus untuk pengaksesan port serial dan port paralel , Java telah menyediakan pustaka khusus yang machine- independent melalui Java Communications API dengan menggunakan package javax.comm.
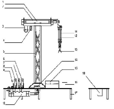
Plant lengan robot pneumatik pemindah plat merupakan lengan robot yang memiliki 3 derajat kebebasan dengan penggerak sistem pneumatik dan menggunakan PLC sebagai pengendali proses.
Perangkat keras lengan robot pneumatik menggunakan 3 buah silinder kerja ganda dan sebuah generator vakum sebagai aktuatornya. Komponen – komponen yang terdapat pada plant lengan robot pneumatik pemindah plat seperti gambar 4.

Gambar 4 Model lengan robot pneumatik
Keterangan Gambar :
-
1. Silinder Pneumatik A
-
2. Poros Pengarah Silinder A
-
3. Generator Vakum
-
4. Digital Pressure Switch
-
5. Tiang penyangga
-
6. Katup Solenoid Generator Vakum
-
7. Katup Solenoid Silinder B
-
8. Katup Solenoid Silinder A
-
9. Katup Solenoid Silinder C
-
10. Silinder Pneumatik C
-
11. Silinder Pneumatik B
-
12. Poros Pengarah Silinder B
-
13. Mangkuk hisap (suction cup)
-
14. Relai
-
15. Programmable Logic Controller
-
16. Panel kendali
-
17. Penyangga meja
-
18. Sensor Photoelectric
Diagram blok fungsional sistem lengan robot pneumatik pemindah plat ditunjukkan pada gambar 5.

Gambar 5 Diagram fungsional lengan robot.
Blok fungsional dari sistem yang terdapat pada gambar 5 dapat dijelaskan sebagai berikut :
-
1. PLC LG MASTER – K30H, digunakan untuk pengolahan data input, output dan pengendali proses.
-
2. Silinder pneumatik, digunakan sebagai alat yang akan dikontrol proses operasinya.
-
3. Generator vakum, digunakan sebagai
pembangkit udara hisap untuk menghisap benda kerja.
-
4. Saklar magnet dan limit switch, digunakan untuk mendeteksi atau mengetahui posisi silinder pneumatik.
-
5. Push button, digunakan untuk tombol operasi pada PLC LG MASTER-K30H.
-
6. Katup solenoida, berfungsi sebagai aktuator silinder penumatik dan generator vakum.
-
7. Sensor Photoelectric, sebagai pendeteksi benda kerja. (plat) yang akan dipindahkan.
-
8. Digital Pressure switch, digunakan sebagai sensor yang mengindikasikan adanya benda kerja menempel pada mangkuk hisap.
-
9. Relai, berfungsi sebagai driver katup
solenoida.
-
10. Lampu pilot, digunakan untuk mengetahui kondisi proses.
-
11. Komputer digunakan untuk men-download program ke PLC.
Komunikasi serial adalah proses pengiriman data atau informasi per bit pada setiap waktunya. Proses pengiriman data dilakukan secara berurutan setiap bit-nya hingga seluruh data terkirimkan.
Dalam komunikasi serial terdapat dua mode komunikasi yang dapat digunakan yaitu komunikasi sinkron dan asinkron. Dalam mode komunikasi asinkron proses pengiriman data dilakukan dengan menggunakan start bit dan stop bit yang menunjukkan awal dan akhir data. Dalam mode komunikasi asinkron data dapat dikirimkan setiap saat berdasarkan adanya start bit dan stop bit.
Dalam mode komunikasi sinkron data dikirimkan dengan kecepatan tetap yang disinkronkan dengan sinyal pewaktuan ataupun alat kontrol untuk memberikan tanda awal adanya proses pengiriman data.
-
2.6 Programmable Logic Controller LG
MASTER –K30H
PLC MASTER-K30H termasuk dalam tipe compact yang memiliki 16 input dan 16 output dan input High Speed Counter yang dapat digunakan dengan tanpa slot input - output tambahan ataupun slot tambahan lainnya.
Daftar alamat memori dan alokasi-nya yang terdapat pada PLC[27] ditunjukkan pada tabel 2.
Tabel 2 Peta memori PLC MASTER-K30H
|
Alamat memori |
Alokasi |
Fungsi baca/tulis |
|
[8C000H – 8CFFH] |
High Speed Counter |
Baca/Tulis |
|
9000H – 900FH |
Daerah M [M00 – M15] |
Baca/Tulis |
|
9100H – 910FH |
Daerah M [M16 – M31] |
Baca/Tulis |
|
9200H – 920FH |
Daerah M [M32 – M47] |
Baca/Tulis |
|
9300H – 930FH |
Daerah M [M48 – M63] |
Baca/Tulis |
|
9400H – 940FH |
Daerah K [K00 – K15] |
Baca/Tulis |
|
9500H – 950FH |
Daerah K [K16 – K31] |
Baca/Tulis |
|
9600H – 960FH |
Daerah Timer [Contact] |
Baca/Tulis |
|
9700H – 970FH |
Daerah Counter [Contact] |
Baca/Tulis |
|
9800H – 980FH |
Daerah F |
Baca |
|
9900H – 990FH |
Daerah P |
Baca/Tulis |
|
9A00H – 9AFFH |
Daerah D |
Baca/Tulis |
|
9B00H – 9BFFH |
Timer [Current area] |
Baca/Tulis |
|
9C00H – 9CFFH |
Counter [Current area] |
Baca/Tulis |
|
9D00H – 9DFFH |
Step controller [S00 – D31] |
Baca/Tulis |
|
9E00H – 9EFFH |
Timer [Setting area] |
Baca |
|
9F00H – 9FFFH |
Counter [Setting area] |
Baca |
Spesifikasi saluran komunikasi melalui port serial RS232C yang didukung oleh PLC MASTER-K30H[27] diperlihatkan pada tabel 3.
Perintah yang didukung dalam proses
komunikasi PLC[8] ditunjukkan pada tabel 4.
Tabel 4. Perintah yang didukung pada komunikasi
PLC MASTER-K30H
|
Perintah |
Fungsi |
Daerah yang didukung |
|
G(g) |
Membaca byte |
P, M, L, K, F |
|
H(h) |
Menulis byte |
P, M, L, K |
|
M(m) |
Mengubah mode |
- |
Dalam proses pembacaan data pada PLC digunakan format urutan frame khusus yang ditunjukkan pada gambar 6.
PC
|
STX |
G |
Awalalamatbaca |
Jumlahdata |
EOT |
ENQ
Gambar 6 Format frame protokol pembacaan data dari PLC
Format protokol pada gambar 6 menggunakan kode kontrol kode ASCII yang diperlihatkan pada tabel 5.
Tabel 5. Kode kontrol ASCII
|
Kode kontrol |
Kode Heksadesimal |
Keterangan |
|
ENQ |
05H |
Enquiry |
|
ACK |
06H |
Acknowledge |
|
NAK |
21H |
Negative Acknowledge |
|
STX |
02H |
Start of Text |
|
EOT |
04H |
End of Text |
Tabel 3 Spesifikasi komunikasi PLC MASTER-K30H
|
Item |
Spesifikasi |
|
Antarmuka |
RS232C |
|
Port komunikasi |
Port RS232C |
|
Metode komunikasi |
Half-Duplex |
|
Metode Sinkronisasi |
Asinkron (Sistem start, stop) |
|
Karakter |
Bit data : 8 bits |
|
Bit paritas : tidak ada | |
|
Bit stop : 1 bit | |
|
Error Check |
BCC Check (Block Check Character) |
|
Sinyal Kontrol |
Kode ASCII |
|
Baud Rate |
9600 Baud |
|
Jarak |
Maksimum 15 meter |
Untuk proses penulisan data pada PLC menggunakan format frame khusus yang ditunjukkan pada gambar 7.
PC
•—
PLC
ENQ
STX H Awal alamat tulis Jumlah data EOT
NAK
---------------►
ACK ^ STX Reply pesan EOT
NAK
PC
•—
PLC
NAK NAK
Gambar 7. Format frame protokol penulisan data ke PLC
Sedangkan untuk proses pengubahan mode PLC digunakan format frame khusus yang ditunjukkan pada gambar 8
PC
•—
PLC
|
STX |
M |
Data mode |
EOT |
Gambar 8 Format frame protokol pengubahan mode PLC
Data mode yang digunakan pada perintah pengubahan mode PLC ditunjukkan pada tabel 6.
Tabel 6. Data mode PLC
|
Mode |
Data |
|
RUN |
01 |
|
STOP |
02 |
|
PAUSE |
04 |
Sistem pengendalian melalui bluetooth atau teleoperasi yang dibangun terdiri atas komponen klien (handphone) sebagai antarmuka kepada pengguna, bluetooth server (PC) dan antarmuka ke robot yang dikendalikan. Konfigurasi dari komponen yang ada pada sistem teleoperasi yang dibangun diperlihatkan pada gambar 9.

Gambar 9 Konfigurasi sistem teleoperasi
Dari gambar 9 dapat dibuat perancangan yang dilakukan dalam 3 sistem utama teleoperasi dapat dijelaskan sebagai berikut :
Sub sistem PLC
Dalam bagian ini dilakukan modifikasi dan penambahan program ladder PLC untuk mendukung pengoperasian mode manual. Dilakukan penyesuaian terhadap jalur input – output yang digunakan pada PLC. Perintah pengendalian yang diberikan ke PLC adalah dengan membuat perubahan kondisi jalur input-output PLC secara langsung melalui PC dengan komunikasi serial RS232 sesuai dengan perintah yang diinginkan.
Sub sistem Server
Sub sistem server akan menjembatani proses komunikasi antara klien dengan plant. Server akan menerima perintah yang diberikan oleh klien dan mengolah perintah tersebut menjadi format yang dimengerti oleh PLC dan kemudian mengirimkannya ke PLC.
Sub sistem Klien
Merupakan bagian yang menyediakan antarmuka program pengendalian pada pengguna atau user. Antarmuka pengendalian yang digunakan adalah berupa Midlet Java yang dapat dijalankan melalui handphone. Dalam bagian ini dilakukan perancangan antarmuka grafis untuk pengiriman perintah pengendalian terhadap plant dan juga visualisasi grafis yang menunjukkan kondisi sebenarnya dari plant dan saluran input –output PLC.
Dalam Midlet juga dilakukan proses pengolahan data terhadap perintah yang diberikan oleh user untuk dikirimkan ke PLC dan data yang dikirimkan oleh server yang berasal dari reply PLC yang akan ditampilkan pada sisi pengguna.
Pembuatan program ladder dilakukan dengan program aplikasi KGL_WIN, yang juga berfungsi untuk men-transfer dari program ladder ke bahasa mesin dan men-download program dari komputer ke memori PLC melalui port serial RS232.
Program Utama Ladder PLC
Diagram alir dari program utama ladder PLC yang mendukung kedua mode tersebut diperlihatkan pada gambar 10.

Gambar 10 Diagram alir program utama PLC
Program Ladder Mode Otomatis
Perubahan yang dilakukan pada ladder program otomatis adalah adanya proses bersyarat yaitu bahwa setiap solenoida dapat ON (aktif) hanya bila mode manual dalam keadaan tidak aktif.
Algoritma dari program ladder proses pemindahan plat pada mode otomatis ditunjukkan pada tabel 7.
Tabel 7 Tahapan kerja pemindahan plat otomatis[21]
|
Tahap Kerja |
Silinder A |
Silinder B |
Silinder C |
Vakum |
|
1 |
Keluar |
Masuk |
Masuk |
OFF |
|
2 |
Keluar |
Keluar |
Masuk |
OFF |
|
3 |
Keluar |
Keluar |
Masuk |
ON |
|
4 |
Keluar |
Masuk |
Masuk |
ON |
|
5 |
Masuk |
Masuk |
Masuk |
ON |
|
6 |
Masuk |
Masuk |
Keluar |
ON |
|
7 |
Keluar |
Masuk |
Keluar |
ON |
|
8 |
Keluar |
Keluar |
Keluar |
ON |
|
9 |
Keluar |
Keluar |
Keluar |
OFF |
|
10 |
Keluar |
Masuk |
Keluar |
OFF |
|
11 |
Masuk |
Masuk |
Keluar |
OFF |
|
12 |
Masuk |
Masuk |
Masuk |
OFF |
Program Ladder Mode Manual
Dalam mode manual setiap solenoid valve yang terdapat pada plant lengan robot pneumatik dapat diaktifkan atau dinonaktifkan secara tersendiri. Untuk mengimplementasikan mode manual digunakan satu jalur input tersendiri untuk mengaktifkan setiap solenoida yang ada. Sedangkan untuk menonaktifkan solenoida digunakan sebuah relai internal untuk setiap solenoida.
Saluran input dan relai internal yang digunakan dalam mode manual diperlihatkan pada tabel 8.
Tabel 8. Saluran input dan internal relay pada mode manual
|
Alamat |
Fungsi |
|
P0013 |
Mengaktifkan solenoida vakum |
|
P0015 |
Mengaktifkan solenoida A |
|
P0016 |
Mengaktifkan solenoida B |
|
P0017 |
Mengaktifkan solenoida C |
|
M0030 |
Menon-aktifkan solenoida A |
|
M0031 |
Menon-aktifkan solenoida B |
|
M0032 |
Menon-aktifkan solenoida C |
|
M0033 |
Menon-aktifkan solenoida vakum |
|
M0041 |
Mengaktifkan dan non-aktifkan mode manual |
Pada sistem pengendalian melalui bluetooth, bagian server merupakan sub sistem yang menyediakan layanan dalam proses pertukaran data antara lengan robot pneumatik sebagai peralatan yang dikendalikan dengan perlatan pengendali yaitu handphone.
Diagram alir program server diperlihatkan pada gambar 11.

Gambar 11 Diagram alir server
Dalam Sub Sistem Server terdapat 10 buah class dengan fungsi berbeda yang terdiri dari :
-
1. LoginFrame. java, merupakan main class yang berupa Frame tampilan GUI untuk memulai aplikasi pengendalian. Class ini berfungsi sebagai tampilan awal.
-
2. SerialConf.java, merupakan class yang
menangani proses setting parameter pada port serial yang akan digunakan.
-
3. SerialCom. java merupakan class yang
menangani proses inisialisasi dan komunikasi melalui port serial dengan PLC.
-
4. ControlBox.java, merupakan class yang
berfungsi untuk menentukan model pengendalian (pengendalian langsung dari komputer atau melalui bluetooth).
-
5. Server.java, merupakan class yang menangani koneksi bluetooth dengan membuat suatu Thread yang menunggu koneksi dari klien.
-
6. PLCHandler.java merupakan class yang
menangani pertukaran data yang terjadi server dengan plant Lengan Robot Pneumatik.
-
7. GambarRobot. java, merupakan class yang berfungsi untuk menggambarkan kondisi plant robot pada monitor server.
-
8. ClientStateChange.java, merupakan class yang berfungsi untuk mengatur pergerakan animasi (state) robot.
-
9. ClientHandler.java, merupakan class yang berfungsi untuk mengolah data kembalian dari serial (plant) yang nantinya menghasilkan state – state yang dikirimkan ke class
ClientStateChange.java untuk memperbarui
tampilan monitoring robot pada server.
-
10. ClientHandling. java, merupakan class yang mengatur pertukaran data antara klien dan server dalam pengendalian melalui bluetooth.
Sub Sistem Klien berfungsi untuk membangun sistem antarmuka dengan Sub Sistem Server dalam rangka pengendalian lengan robot sekaligus monitoring.
Pada Sub Sistem Klien terdapat 16 class yang mempunyai fungsi berbeda seperti sebagai berikut : 1. ClientBox.java, merupakan main class yang mengatur tampilan dan dieksekusi pertama kali pada saat aplikasi dijalankan.
-
2. Intro.java, class yang berfungsi untuk membuat tampilan awal pada saat aplikasi dijalankan.
-
3. ClientAntri.java, class yang berfungsi untuk membuat tampilan pada saat pengguna berada pada antrian.
-
4. ClientConnection.java, class yang berfungsi untuk mengatur koneksi klien dengan server.
-
5. PLC.java, class yang berfungsi untuk mengatur perintah pengubhaan mode PLC (run, pause dan stop).
-
6. BLUElet.java, class yang berfungsi untuk mencari perangkat bluetooth yang aktif di sekitar klien dan mengkoneksikannya dengan klien.
-
7. RemoteDeviceUI.java, class yang berfungsi untuk menampilkan nama – nama perangkat bluetooth yang aktif.
-
8. MenuUtama.java, merupakan class antarmuka untuk pengguna dalam memilih mode pengoperasian yang diinginkan (manual atau otomatis).
-
9. BantuanUtama.java, class untuk menampilkan keterangan atau petunjuk singkat untuk pengguna mengenai cara pengoperasian.
-
10. ClientHandler.java, class yang mengatur
pertukaran data antara klien dan server sekaligus mengolah data untuk antarmuka robot di sisi klien.
-
11. ClientStateChange.java, class yang mengatur perubahan state antarmuka robot di sisi klien dan menyesuaikannya dengan kondisi robot
sesungguhnya di lapangan.
-
12. ClientScreen.java, class yang menamppilkan tampilan antarmuka robot di sisi klien yang berupa animasi gambar robot jika dilihat dari sisi atas, depan dan samping.
-
13. MenuManual.java, class yang merupakan
antarmuka dalam memilih untuk menjalankan aplikasi secara manual atau memilih petunjuk operasi secara manual.
-
14. BantuanManual.java, class yang berfungsi untuk menampilkan petunjuk pengoperasian robot secara manual.
-
15. MenuOtomatis.java, class yang merupakan antarmuka dalam memilih untuk menjalankan aplikasi secara otomatis atau memilih petunjuk operasi secara Otomatis.
-
16. BantuanOtomatis.java, class yang berfungsi untuk menampilkan petunjuk pengoperasian robot secara otomatis.
Monitoring dilakukan dengan tampilan grafis pada handphone yang ditunjukkan pada gambar 12.

Gambar 12 Visualisasi Robot Pada Klien
Penanganan pesan dari server
Pesan yang dikirim dari server dan diterima oleh klien dapat dibagi menjadi 2 yang dibedakan oleh header yang ditambahkan pada pesan tersebut yaitu :
-
• Karakter ‘&’, merupakan header yang digunakan untuk pesan dari server yang merupakan nilai status antrian dari applet klien.
-
• Karakter ‘#’, merupakan header yang digunakan untuk pesan dari server yang merupakan data reply dari PLC.
Data reply yang berasal dari PLC berupa nilai heksadesimal yang masih perlu dilakukan proses konversi dalam nilai biner yang akan mewakili kondisi tiap port input – output yang terdapat pada PLC. Urutan proses pengubahan data reply PLC dengan nilai # 41 38 30 34 30 30 menjadi data untuk tiap kondisi PLC diperlihatkan pada contoh yang terlihat pada gambar 13.

Gambar 13. Proses pengubahan data reply PLC
Diagram alir Sub Sistem Klien ditunjukkan pada gambar 14.
Gambar 13 Diagram Alir Sub Sistem Klien
Visualisasi kondisi yang terdapat pada antarmuka klien adalah visualisasi animasi pergerakan kondisi plant Lengan Robot Pneumatik yang bergerak sesuai dengan kondisi plant sebenarnya.
Penanganan perintah dari klien
Pengiriman perintah dilakukan juga dengan menambahkan header dengan karakter ‘$’ untuk perintah pengendalian robot yang selanjutnya perintah dari klien dengan tambahan header tersebut
akan ditangani oleh ClientHandler untuk dikirimkan perintah yang sesuai ke PLC.
Pengujian dilakukan dengan mengamati data dari Klien - Server, Server - PLC, kesesuaian kondisi robot sesungguhnya dengan antarmuka robot pada handphone, pengujian jarak maksimal koneksi, Pengujian kompabilitas dengan handphone berbeda.
Pengujian Jarak
Pengujian jarak dilakukan dengan mengatur jarak posisi antara klien dengan server. Data pengujian ditunjukkan pada tabel 9.
Tabel 9 Pengujian jarak maksimal jangkauan koneksi bluetooth klien-server.
Pengujian Antarmuka Monitoring
Pengujian monitoring dengan mengamati tampilan animasi sebagai respon pengiriman perintah klien
Tabel 12 Pengujian Antarmuka Monitoring Mode Otomatis
|
No. |
Jarak Uji |
Pengujian Tanpa Halangan |
Pengujian Dengan Halangan | ||||
|
(m) |
1 |
2 |
3 |
1 |
2 |
3 | |
|
1 |
5 |
OK |
OK |
OK |
OK |
OK |
OK |
|
2 |
10 |
OK |
OK |
OK |
OK |
OK |
OK |
|
3 |
15 |
OK |
OK |
OK |
OK |
OK |
OK |
|
4 |
17,6 |
OK |
OK |
OK |
OK |
OK |
OK |
|
5 |
18 |
OK |
OK |
OK |
OK |
- |
OK |
|
6 |
18,2 |
OK |
OK |
OK |
OK |
- |
- |
|
7 |
20 |
OK |
OK |
OK |
- |
- |
- |
|
8 |
25 |
OK |
OK |
OK |
- |
- |
- |
|
9 |
30 |
OK |
OK |
OK |
- |
- |
- |
|
10 |
35 |
OK |
OK |
OK |
- |
- |
- |
|
11 |
35,4 |
OK |
OK |
OK |
- |
- |
- |
|
12 |
35,8 |
- |
OK |
OK |
- |
- |
- |
|
13 |
36 |
- |
OK |
- |
- |
- |
- |
|
14 |
36,5 |
- |
- |
- |
- |
- |
- |
|
15 |
37 |
- |
- |
- |
- |
- |
- |
|
Rata - rata |
35.,73 m |
14,6 m | |||||
Pengujian Antrian
Pengujian tampilan pada klien sesuai dengan data antrian yang dikirim oleh server. Hasil pegujian antrian ditunjukkan pada tabel 10.
Tabel 10 Pengujian Antrian
|
No. |
Status Antrian |
Tampilan |
Keterangan |
|
1 |
1 |
Sesuai |
Sesuai |
|
2 |
2 |
Sesuai |
Sesuai |
|
3 |
3 |
Sesuai |
Sesuai |
|
4 |
4 |
Sesuai |
Sesuai |
Pengujian kompabilitas perangkat klien
Pengujian dilakukan dengan cara menjalankan aplikasi pengendalian dengan mengganti perangkat klien (handphone) yang digunakan.
Tabel 11 Pengujian Kompabilitas Perangkat Klien
|
No. |
Handphone |
Pengujian Tampilan |
Pengujian Perintah |
|
1 |
Nokia 6600 |
Sesuai |
Sesuai |
|
2 |
Nokia 6630 |
Sesuai |
Sesuai |
|
3 |
Nokia 3230 |
Sesuai |
Sesuai |
|
No. |
Pengiriman Perintah |
Tampilan Antarmuka |
Kondisi Sensor |
|
1 |
START |
Sesuai |
Sesuai |
|
2 |
STOP |
Sesuai |
Sesuai |
|
3 |
RESET |
Sesuai |
Sesuai |
Tabel 13 Pengujian Antamuka Monitorng Mode Manual
|
No. |
Pengiriman Perintah |
Tampilan Antarmuka |
Kondisi Sensor |
|
1 |
Maju (sil A On) |
Sesuai |
Sesuai |
|
2 |
Turun (sil B On) |
Sesuai |
Sesuai |
|
3 |
Hisap Plat (vak On) |
Sesuai |
Sesuai |
|
4 |
Naik (sil B Off) |
Sesuai |
Sesuai |
|
5 |
Mundur (sil A Off) |
Sesuai |
Sesuai |
|
6 |
Putar (sil C On) |
Sesuai |
Sesuai |
|
7 |
Maju (sil A On) |
Sesuai |
Sesuai |
|
8 |
Turun (sil B On) |
Sesuai |
Sesuai |
|
9 |
Lepas Plat (Vak Off) |
Sesuai |
Sesuai |
|
10 |
Naik (sil B Off) |
Sesuai |
Sesuai |
|
11 |
Mundur (sil A Off) |
Sesuai |
Sesuai |
|
12 |
Balik (sil C Off) |
Sesuai |
Sesuai |
Pengujian Server
Pengujian pada aplikasi server dilakukan dengan menjalankan semua urutan pengoperasian serta melakukan uji coba untuk menerima koneksi dari klien.
Tabel 14 Hasil uji aplikasi server.
|
No |
Urutan proses |
Hasil Pengujian |
|
1 2 I 3 | ||
|
1 |
Memulai server |
Berhasil |
|
2 |
Setting parameter serial | |
|
3 |
Inisialisasi port serial | |
|
4 |
Membuka koneksi Bluetooth | |
|
5 |
Menerima koneksi dari klien | |
|
6 |
Klien meninggalkan server |
Setelah dilakukan proses perancangan, pembuatan dan pengujian serta analisa pada penelitian ini, dapat diambil beberapa kesimpulan sebagai berikut :
-
1. Jarak koneksi bluetooth yang dapat dilakukan adalah rata – rata 35,73 meter untuk koneksi tanpa halangan dan 14,6 meter dengan adanya halangan.
-
2. Operating System yang digunakan harus Windows XP Service Pack 2, hal ini dikarenakan driver untuk bluetooth adapter untuk aplikasi Java hanya dapat didukung oleh Operating System tersebut.
-
3. Pemanggilan objek pada aplikasi klien dengan teknologi J2ME dapat dilakukan di class utama yaitu ClientBox.java dengan tujuan untuk penghematan penggunaan memory pada saat aplikasi dijalankan.
-
4. Untuk banyaknya klien yang terkoneksi pada sistem dibangun sebuah sistem antrian yang hanya memberikan akses kepada salah satu klien yang terkoneksi terlebih dahulu dan yang lain masih bisa terkoneksi tetapi harus menunggu klien sebelumnya sampai selesai mengendalikan.
-
5. Untuk kompabilitas penggunaan handphone nokia dengan seri 6600, 6630 dan 3230 tampilan dan pengiriman perintah dapat berjalan dengan baik hanya saja semakin besar prosesor yang ada pada handphone sangat berpengaruh pada komputasi yang berlangsung.
-
6. Tampilan robot (plant) pada klien sama dengan kondisi robot sesungguhnya, tampilan dibangun dari data reply dari server yang berasal dari PLC.
-
7. Pembukaan server bluetooth dapat berjalan dengan baik, diawali dari setting port serial, inisialisasi port serial, membuka koneksi, pengendalian hingga klien memutuskan koneksi dengan server.
Setelah dilakukan proses implementasi dan pengujian sistem pengendalian melalui bluetooth pada plant Lengan Robot Pneumatik menggunakan PLC dapat diberikan saran sebagai berikut:
-
1. Aplikasi dapat dikembangkan dengan
pengendalian melalui GPRS atau 3G.
-
2. Pengembangan dengan teknologi jaringan
internet dapat menggunakan model Enterprise Java Beans (EJB).
-
3. Untuk pengendalian dengan jaringan lokal dapat menggunakan model Remote Method Invocation (RMI).
-
[1] Hermawan, Benny, Menguasa Java 2 & Object Oriented Programming, Penerbit Andi,
Yogyakarta, 2004.
-
[2] Ilham, Dony. Pengendalian Lengan Robot Pneumatik Pemindah Plat Melalui Internet Berbasis Teknologi Java. Penelitian Jurusan Teknik Elektro Universitas Diponegoro, 2005.
-
[3] Setiawan, Ari, “Perancangan Lengan Robot Pneumatik Pemindah Plat Menggunakan Programmable Logic Controller”, Penelitian Jurusan Teknik Elektro Universitas Diponegoro, 2004.
-
[4] Siyamta, Pengantar Teknologi Bluetooth,
www.ilmukomputer.com, 2005.
-
[5] ..............,http://www.java-tips.org
-
[6] .............,http://www.benhui.net
-
[7] .............,http://eclipse.org
-
[8] …….,LG Master-K30H RS232C
Communication Manuals
-
[9] ..............,http://www.java.sun.com
Teknologi Elektro
40
Vol. 6 No. 1 Januari – Juni 2007
PDF created with pdfFactory Pro trial version www.pdffactory.com
Discussion and feedback