RANCANG BANGUN PROTOTIPE PENGHITUNG JUMLAH ORANG DALAM RUANGAN TERPADU BERBASIS MIKROKONTROLER ATMEGA328P
on
Rancang Bangun Prototipe…
Raka Agung, Irwan Susanto
RANCANG BANGUN PROTOTIPE PENGHITUNG JUMLAH ORANG
DALAM RUANGAN TERPADU BERBASIS MIKROKONTROLER ATMEGA328P
I Gusti Agung Putu Raka Agung, I Made Irwan Susanto
Program Studi Teknik Elektro, Fakultas Teknik UNUD
Kampus Bukit Jimbaran Bali,tlp. (0361)703315
Email, igapraka@yahoo.co.id
Abstract
The increasing world energy demand lately and the more expensive price of oil caused by the higher price of electricity (TDL) of the PLN. This directly led to the operational costs of a building or space is increasing because KWH of energy consumption to be paid every month. To reduce these problems will be created prototype integrated counters the number of people in the room based on AT Mega328P microcontroller. The way this system works is to count the number of people in and out of a room using infrared sensor with microcontroller ATMega 328P as a controller. These tools will combine the presence or number of people in the room with the life and death of lights and room air conditioners (AC) so the room remains fit for use and energy consumption can be reduced. The number of people in the room gained by reducing the people numberv who go to the room with people number who go to outside of the room. The number of people in the room and time are displayed on the LCD screen. The system also features a series of lighting control life and death in the next room (outdoors) by using RTC DS 1307. With this control lights can turn on automatically at dusk and off in the morning at the time you set earlier. The prototype system is already able to count the number of people who are in the living room and set off on lights and air conditioners room.
Key Words: ATmega328P, Infrared, RTC DS 1307, On/Off control
Abstrak
Meningkatnya permintaan energi dunia akhir-akhir ini dan makin mahalnya harga minyak dunia menyebabkan makin tingginya harga energi listrik (TDL) dari PLN. Hal ini secara langsung menyebabkan biaya operasional sebuah gedung atau ruangan semakin meningkat karena pemakaian KWH energi yang harus dibayar setiap bulan. Untuk mengurangi permasalahan ini akan dibuat prototipe penghitung jumlah orang dalam ruangan terpadu berbasis Mikrokontroler ATMega328P. Sistem ini adalah menghitung jumlah orang yang masuk dan keluar pada sebuah ruangan menggunakan sensor infrared dengan mikrokontroler ATMega 328P sebagai pengendalinya. Peralatan ini akan memadukan kehadiran atau jumlah orang dalam ruangan dengan hidup matinya lampu penerangan dan pengkondisi udara ruangan (AC) sehingga ruangan tetap layak digunakan dan pemakaian energinya bisa dikurangi. Jumlah orang yang ada dalam ruangan didapat dengan mengurangi jumlah orang yang masuk dengan jumlah orang yang ke luar dari ruangan tersebut. Jumlah orang yang ada dalam ruangan dan waktu saat itu ditampilkan pada layar LCD. Sistem ini juga dilengkapi rangkaian pengendali hidup matinya lampu penerangan di depan ruangan (di luar ruangan) dengan menggunakan RTC DS 1307. Dengan pengendalian ini lampu penerangan dapat menyala otomatis pada sore hari dan mati saat pagi hari pada waktu yang sudah diset sebelumnya. Prototipe sistem yang dibuat sudah mampu menghitung jumlah orang yang berada dalam suatu ruangan dan mengatur hidup mati lampu penerangan dan pengkondisi udara ruangan tersebut.
Kata Kunci : ATmega328P, Infrared, RTC DS 1307, Kontrol On/Off
Ruangan yang dipakai hampir setiap hari misalnya ruang kelas untuk kuliah biasanya dilengkapi dengan sarana lampu penerangan dan pengkondisi udara (ac) ruangan. Biasanya pada ruangan ini hidup dan matinya lampu dan ac dilakukan secara manual dengan menekan sebuah tombol. Karena kondisi ini sering lampu penerangan dan ac dalam ruangan tetap hidup walaupun ruangan dalam keadaan kosong. Hal ini menimbulkan pemborosan energi dan menyebabkan bertambahnya rekening listrik yang harus dibayar. Di sisi lain kita
dihadapkan pada krisis energi dan makin meningkatnya harga KWH energi dari PLN. Tentu pemborosan energi listrik ini harus dikurangi dengan mematikan lampu penerangan dan ac saat ruangan tidak berpenghuni dan dihidupkan lagi saat ada orang dalam ruangan tersebut. Untuk mengatasi permasalah ini akan dibuat prototipe penghitung jumlah orang dalam ruangan terpadu berbasis Mikrokontroler ATMega328P.
Cara kerja sistem ini adalah menghitung jumlah orang yang masuk dan keluar pada sebuah ruangan menggunakan sensor infrared dengan
mikrokontroler ATMega 328P sebagai pengendalinya. Sensor infrared berjumlah 4 buah dipasang pada pintu keluar dan pintu masuk. Jika ada orang yang mendekati pintu masuk maka pada jarak jangkau sensor infrared1 pintu masuk akan terbuka dan orang tersebut masuk ruangan. Pintu masuk akan tertutup secara otomatis jika orang tersebut sudah melewati sensor infrared2 dan counter dinaikkan satu. Proses yang sama terjadi jika ada orang berikutnya yang memasuki ruangan. Jika seseorang ingin keluar maka jika dia sudah masuk pada jangkauan sensor infrared3 pintu keluar akan terbuka secara otomatis , orang tersebut keluar, pintu keluar akan tertutup kembali dan counter dikurangi satu. Kehadiran orang dalam ruangan secara otomatis akan meghidupkan semua lampu ruangan sedangkan ac akan hidup setengahnya. Jika jumlah orang dalam ruangan lebih dari 20 orang semua ac dalam ruangan akan hidup. Pada tampilan LCD akan ditampilkan jumlah orang pada ruangan tersebut dan waktu saat itu. Lampu penerangan di depan ruangan hanya dihidupkan pada waktu malam hari berdasarkan data waktu nyata dari RTC.
Mikrokontroler Arduino adalah sebuah platform dari physical computing yang bersifat open source. Yang dimaksud platform dari physical computing adalah sebuah sistem atau perangkat fisik yang menggunakan software dan hardware yang sifatnya interaktif yaitu dapat menerima rangsangan dari lingkungan dan merespon balik. Physical computing merupakan sebuah konsep untuk memahami hubungan yang manusiawi antara lingkungan yang sifat alaminya gabungan dari system analog dengan dunia digital. Dengan konsep inilah maka sistem dapat diaplikasikan dalam desain – desain alat atau projek-projek yang menggunakan sensor dan mikrokontroler. Dan yang dimaksud dengan sifat arduino yang open source dimana tidak hanya softwarenya saja yang open source melainkan hardwarenya pun open source dimana diagram rangkaian elektronik arduino yang digratiskan kepada semua orang.[1]
Secara umum Arduino terdiri dari dua bagian, yaitu :
-
1. Hardware ( papan input/output (I/O))
-
2. Software ( Software Arduino meliputi IDE untuk menulis program, driver untuk koneksi dengan komputer, contoh program dan library untuk pengembangan program)
Hardware pada arduino yang dimaksud berupa seperangkat system komponen yang telah terkombinasi dengan mikrokontroler sebagai otak dari system dan antarmuka ( interface ) yang akan menghubungkan system mikrokontroler dengan system computer. Komponen utama di dalam papan Arduino adalah sebuah mikrokontroler 8 bit dengan merk ATMega 328P yang dibuat oleh perusahaan
Atmel Corporation. Jenis arduino yang digunakan adalah arduino uno yang memiliki mikrokontroler ATMega 328P sebagai control utamanya. Pada gambar 1 diperlihatkan contoh diagram blok sederhana dari mikrokontroler ATMega 328P yang dipakai pada Arduino Uno.[1].

Gambar 1. Blok diagram mikrokontroler ATMega 328P[1]
LCD atau liquid Cristal display merupakan suatu alat yang dapat menampilkan karakter ASCII. Tampilan ini bisa berupa campuran huruf dan angka sekaligus. Di dalam LCD terdapat sebuah mikroprosesor yang berfungsi untuk mengendalikan tampilan. Karakter yang ditampilkan oleh LCD beraneka ragam tergantung dari jenis LCD tersebut. Tampilan sebuah LCD beserta pin-pin untuk komunikasi dengan piranti lain dapat dilihat pada gambar 2[2].

Gambar 2. Pin pada LCD[2]
Pada penelitian ini LCD dipakai untuk menampilkan jumlah orang dalam ruangan dan waktu saat itu. LCD juga digunakan untuk menampilkan waktu hidup matinya lampu di depan ruangan saat pertama kali diseting.
Istilah H-bridge diperoleh dari gambaran grafik rangkaian secara menyeluruh. Sebuah H-bridge terdiri dari empat saklar seperti pada gambar 3 . Ketika saklar S1 dan S4 tertutup dan saklar S2 dan S3 terbuka maka motor akan diberi tegangan positif sehingga motor bergerak searah jarum jam. Dengan membuka saklar S1 dan S4 dan menutup saklar S2
dan S3 maka tegangan akan membalik arah sehingga motor bergerak berlawanan dengan jarum jam[3].

Gambar 3. Rangkaian H-bridge[3]
Dengan menggunakan perbandingan tersebut, saklar S1 dan S2 harus tidak pernah ditutup pada waktu yang sama, ini akan menyebabkan hubung pendek pada masukan sumber tegangan. Penerapan yang sama juga pada saklar S3 dan S4.Susunan rangkaian H-bridge secara umum digunakan untuk membalikkan polaritas motor, tetapi dapat juga digunakan untuk menghentikan motor, dimana dapat membuat motor berhenti cepat atau berhenti secara tiba -tiba dengan menghubung pendekkan terminal dari motor atau membiarkan motor berputar bebas dengan tidak menghubungkan motor pada rangkaian.
Pada penelitian ini H-bridge memakai IC L298 yang digunakan untuk mengendalikan arah putaran motor dc pembuka dan penutup pintu keluar dan pintu masuk. Adapun tabel kebenaran dari IC L298 dapat dilihat pada tabel 1.
Tabel 1 Tabel Kebenaran IC L298[4]
|
V en |
Input |
Output |
Fungsi | ||
|
C |
D |
Out3 |
Out4 | ||
|
H |
H |
L |
H |
L |
Motor berputar ke kanan |
|
L |
H |
L |
H |
Motor berputar ke kiri | |
|
H |
H |
H |
H |
Motor diam | |
|
L |
L |
L |
L |
Motor diam | |
|
L |
X |
X |
X |
x |
Motor bergerak bebas |
Transistor bipolar bisa difungsikan sebagai penguat ataupun sebagai saklar. Sebagai saklar transistor harus dioperasikan pada titik kerja jenuh dan putus. Saklar transistor bisa dipakai untuk mengatur hidup mati lampu, motor atau beban listrik lainnya. Biasanya pengaturan hidup matinya dilakukan dari port mikrokontroler pada basis transistor sedangkan bebannya berupa relay yang langsung berhubungan dengan beban lsitrik yang sebenarnya. Pada penelitian ini saklar transistor berfungsi sebagai perantara hidup matinya lampu penerangan dan pengkondisi udara ruangan.
-
2.5 Infrared
Inframerah (infrared) ialah sinar elektromagnet yang panjang gelombangnya lebih daripada cahaya nampak yaitu di antara 700 nm dan 1 mm. Sinar infrared merupakan cahaya yang tidak tampak. Jika dilihat dengan dengan spektroskop
cahaya maka radiasi cahaya infrared akan nampak pada spectrum elektromagnet dengan panjang gelombang di atas panjang gelombang cahaya merah. Dengan panjang gelombang ini maka cahaya infrared akan tidak tampak oleh mata namun radiasi panas yang ditimbulkannya masih terasa/dideteksi[5].
Pada penelitian ini dipakai sensor infrared terintegrasi type E18-D80NK sebagai pendeteksi orang yang akan masuk atau keluar ruangan. Ini adalah saklar jarak infrared dengan jangkauan deteksi dapat diatur (adjustable infared sensor switch manual) antara 3 cm – 80 cm. Sensor ini berukuran kecil, mudah dirakit/dipakai dan tidak mahal.[6]
-
2.6 Real-Time Clock (RTC) DS1307
DS1307 merupakan Real-time clock (RTC) dengan jalur data parallel yang memiliki antarmuka serial Two-wire (I2C), IC ini memiliki kristal yang dapat mempertahankan frekuensinya dengan baik. Real-time clock DS1307 memiliki fitur sebagai berikut[7] :
-
1. Real-time clock (RTC) menyimpan data-data detik, menit, jam, tanggal, bulan dan hari dalam seminggu, dan tahun valid hingga 2100.
-
2. 56-byte, battery-backed, RAM nonvolatile (NV) RAM untuk penyimpanan.
-
3. Antarmuka serial Two-wire (I2C).
-
4. Sinyal keluaran gelombang-kotak terprogram (Programmable squarewave).
-
5. Deteksi otomatis kegagalan-daya (power-fail) dan rangkaian switch.
-
6. Konsumsi daya kurang dari 500nA menggunakan mode baterei cadangan dengan operasional osilator.
-
7. Tersedia fitur industri dengan ketahanan suhu: -40°C hingga +85°C.
-
8. Tersedia dalam kemasan 8-pin DIP atau SOIC.
Penelitian ini dimulai dengan kajian pustaka tentang rangkaian-rangkaian inframerah, H-bridge, RTC dan LCD. Dilanjutkan dengan pemilihan komponen atau IC yang akan dipakai dan pengumpulan lembaran data dari komponen-komponen elektronik tersebut baik dari data book atau dari internet. Perancangan awal dilakukan perblok dan setelah direalisasikan masing-masing blok diuji untuk mendapatkan spesifikasi yang diinginkan. Adapun blok-blok rangkaian yang direalisasikan terdiri dari blok system minimum Atmega328P, sensor infrared, LCD, driver motor , saklar transistor, rangkaian RTC dan tombol push button
Secara sistematis perangkat keras alat penghitung jumlah orang pada suatu ruangan terpadu berbasis mikrokontroler Atmega 328P Arduino, dapat digambarkan seperti diagram blok gambar 4.

Gambar 4. Diagram blok perangkat keras prototype sistem penghitung jumlah orang pada ruangan
Penjelasan dan fungsi masing – masing blok pada gambar 4 adalah sebagai berikut :
-
1. Tombol menu berfungsi memilih menu untuk menseting waktu untuk mengontrol waktu hidup matinya lampu penerangan atau batas nilai maksimal dari jumlah orang yang masuk pada ruangan.
-
2. Modul RTC berfungsi untuk menampilkan waktu dan mengatur timer untuk menyalakan lampu pada sore hari yaitu pada jam 18.00 dan mematikan lampu pada pagi hari jam 07.00.
-
3. Sensor infrared 1 berfungsi untuk mendeteksi orang yang akan masuk pada ruangan yang kemudian akan membuka pintu masuk.
-
4. Sensor infrared 2 berfungsi mendeteksi orang yang melewati pintu masuk yang kemudian akan memberikan isyarat ke mikrokontroler untuk menambahkan jumlah orang dalam ruangan dan menutup pintu masuk.
-
5. Sensor infrared 3 berfungsi mendeteksi orang yang keluar ruangan dan kemudian akan memberikan isyarat ke mikrokontroler untuk membuka pintu keluar.
-
6. Sensor infrared 4 berfungsi untuk mendeteksi orang yang melewati pintu keluar dan memberikan perintah ke mikrokontroler untuk mengurangi jumlah orang dalam ruangan dan menutup pintu keluar.
-
7.
river motor berfungsi untuk mengendalikan dan mengatur arah putaran motor DC.
-
8. Motor DC 1 berfungsi untuk membuka atau menutup pintu masuk.
-
9. Motor DC 2 berfungsi untuk membuka atau menutup pintu keluar.
-
10. LCD berfungsi untuk mengetahui jumlah orang yang sedang berada dalam ruangan.
-
11. Modul RTC berfungsi untuk menyimpan jam, menit, detik dan mengontrol lampu penerangan sesuai waktu yang di tentukan.
-
12. Rangkaian transistor switch berfungsi untuk mengontrol Relay sesuai dengan sinyal yang diberikan mikrokontroler.
-
13. Relay Control AC berfungsi untuk menghidupkan dan mematikan AC sesuai dengan batas kapasitas ruangan yang telah ditentukan.
-
14. Relay Control lampu berfungsi untuk menghidupkan dan mematikan lampu penerangan sesuai dengan waktu yang telah di tentukan.
-
3.2 Perancangan Perangkat Lunak
-
3.2.1 Diagram Alir Perangkat Lunak Pada Pintu Masuk
-
Pada bagian pintu masuk dimulai dari inisialisasi, jumlah orang yang di set, menu seting, sensor 1, sensor 2, pintu masuk, dan jumlah orang yang masuk ke ruangan. Pertama kita harus memasukkan nilai kapasitas ruangan dengan mnekan tombol menu seting kemudian tombol seting. Sensor 1 akan mendeteksi orang yang lewat, jika ada maka sensor akan mengirimkan isyarat ke mikro untuk membuka pintu masuk. Saat sensor 2 dilewati maka sensor ini akan mengirimkan isyarat ke mikro untuk menambahkan jumlah orang yag ada dalam ruangan dan scara bersamaan juga memberikan isyarat tuntuk menutup pintu masuk. Apabila jumlah orang yang berada dalam ruangn sudah sama dengan jumlah orang yang telah di set sebelumnya maka pintu masuk tidak akan terbuka, walaupun ada orang melewati sensor 1 tersebut.
Diagram alir perangkat lunak rancang bangun prototype sistem pada pintu masuk dapat dilihat pada gambar 5.
D

Gambar 5. Diagram alir perangkat lunak pada pintu masuk
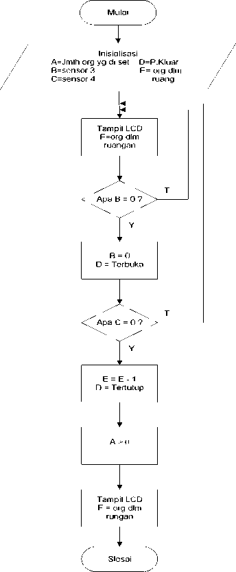
Pada bagian pintu keluar dimulai dari inisialisasi : jumlah orang yang di set, sensor 3, sensor 4, pintu keluar, dan jumlah orang yang masuk ke ruangan. Di bagian ini ketika dilewati sensor 3 akan bekerja dan memberikan isyarat pada mikro untuk membuka pintu keluar, sensor ke 4 akan mendeteksi orang yang akan melewatinya kemudian akan memberikan isyarat ke mikro untuk mengurangi jumlah orang di dalam ruangan tersebut yang ditampilkan pada LCD dan secara bersamaan memberikan isyarat untuk menutup pintu keluar.
Diagram alir perangkat lunak rancang bangun prototype sistem pada pintu keluar dapat dilihat pada gambar 6.

Gambar 6. Diagram alir perangkat lunak pada pintu keluar
-
3.2.3 Diagram Alir Perangkat Lunak Kontrol AC dan Lampu Penerangan dalam Ruangan
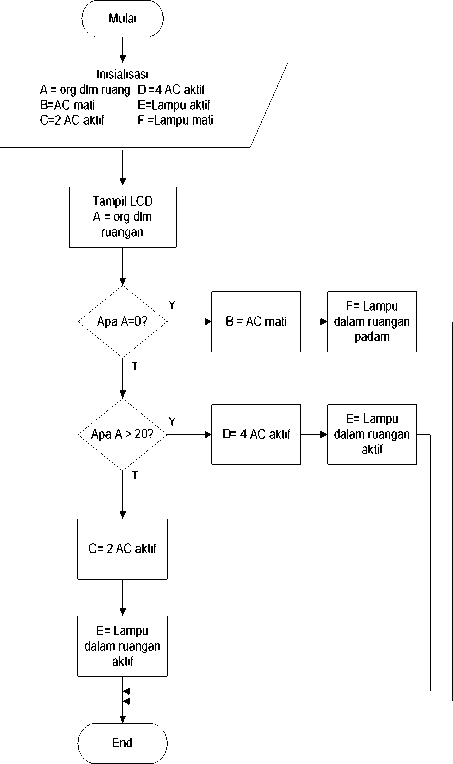
Pada bagian kontrol AC dimulai dari inisialisasi, jumlah orang yang berada dalam ruangan, AC mati, dan AC aktif, lampu mati, lampu aktif . AC dikontrol berdasarkan jumlah pengunjung yang berada dalam ruangan, saat J = 0 (tidak ada yang menggunakan ruangan) maka AC dan lampu penerangan dalam ruangan akan mati, kemudian saat J = 1 sampai dengan J = 20 maka 2 AC akan dinyalakan dan lampu dalam ruangan mulai dinyalakan secara otomatis. Ketika J > 20, maka keempat AC akan dinyalakan. Disini fungsinya untuk mengrangi pemakaian energi listrik, karena saat jumlah pengunjung yang ada dalam ruangan kurang dari 21 orang maka dengan menyalakan 2 AC sudah cukup untuk menjaga suhu ruangan tetap nyaman digunakan.
Diagram alir software rancang bangun prototype sistem untuk kontrol AC dan lampu dalam ruangan dapat dilihat pada gambar 7.
Gambar 7. Diagram alir software rancang bangun prototype sistem untuk kontrol AC dan lampu ruangan
Gambar 8. Diagram alir perangkat lunak kontrol lampu di luar ruangan
Pada bagian kontrol lampu penerangan dimulai dari inisialisasi : waktu sekarang, lampu mati, lampu hidup, waktu hidup, waktu mati. Ketika waktu telah menunjukkan pukul 18.00 (waktu hidup) maka lampu penerangan akan dinyalakan secara otomatis. Dan pada jam 07.00 (waktu mati) maka lampu penerangan akan di padamkan, untuk memudahkan pengenalan waktu disini menggunakan format waktu 24 jam.
Diagram alir software rancang bangun prototype sistem untuk kontrol lampu luar ruangan dapat dilihat pada gambar 8.
Realisasi Prototype Penghitung Jumlah Orang Dalam Ruangan Terpadu Berbasis Mikrokontroler ATmega328P dapat dilihat pada gambar 9.
Gambar 9 Rangkaian keseluruhan prototipe sistem tampak dari depan
-
4.2 Pengujian dan Pembahasan Prototype
Penghitung Jumlah Orang Dalam Ruangan
Terpadu Berbasis Mikrokontroler ATmega328P.
Pengujian dilakukan pada setiap rangkaian yang telah direalisasikan. Apabila hasil pengujian sudah memenuhui harapan maka dapat dilanjutkan dengan menggabungkan rangkaian yang ada sehingga sistem dapat memberikan keluaran sesuai dengan perencanaan.
Adapun pengujian yang dilakukan adalah:
-
1. Pada saat infrared belum terhalang
-
2. Pada saat infrared terhalang
Hasil pengujian pada saat sensor infrared terhalang oleh orang yang masuk atau keluar pintu adalah seperti pada table 2.
Table 2 Hasil pengujian tegangan keluaran sensor infrared
|
No |
Pin Mikro-kontrler |
infrared tak tehalang |
infrared terhalang | ||
|
Nilai analog |
Nilai digital |
Nilai analog |
Nilai digital | ||
|
1 |
A0 |
4,88 V |
1023 |
0,05 V |
10 |
|
2 |
A1 |
3,51 V |
967 |
0,07 V |
14 |
|
3 |
A2 |
4,86 V |
1023 |
0,07 V |
13 |
|
4 |
D13 |
2,33 V |
1 |
0,07 V |
0 |

Gambar 10. Tampilan menu utama pada LCD
Pengujian masukan pada pengendali motor DC menggunakan multimeter digital sebagai pengukur tegangan masukan ke IC pengendali motor DC yaitu IC L298. Hasil keseluruhan pengujian terdapat pada tabel 3
Table 3 Hasil pengujian masukan IC L298
|
No |
Kondisi |
Pin Mikrokontroler | |||
|
D0 |
D1 |
D2 |
D3 | ||
|
1 |
infrared 1 terhalang |
4,85 V |
0,1 V |
- |
- |
|
2 |
infrared 2 terhalang |
0,1 V |
4,85 V |
- |
- |
|
3 |
infrared 3 terhalang |
- |
- |
4,86 V |
0,1 V |
|
4 |
infrared 4 terhalang |
- |
- |
0,1 V |
4,85 V |
Tegangan keluaran dari infrared pertama saat tak terhalang adalah sebesar 4,88V dan saat terhalang sebesar 0,05V. Tegangan ini akan memberikan isyarat pada mikrokontroler untuk membuka pintu masuk saat sensor terhalang. Nilai digital tersebut yang akan menjadi acuan dalam program yang telah dibuat. Misalkan saat sensor pertama terhalang maka nilai digitalnya akan bernilai 10, maka pintu masuk akan terbuka, dan saat pin A1 bernilai 14 maka pintu masuk akan tertutup dan counter UP akan bekerja.
LCD berfungsi untuk menampilkan semua menu dan setingan yang akan dimasukkan pada mikrokontroler. Pengujian pada rangkaian LCD tidak menggunakan alat ukur tetapi langsung terhubung dengan board arduino, apabila rangkaian sudah dapat menampilkan tulisan dan dengan contras yang baik artinya rangkaian sudah dapat bekerja.
Tombol menu utama merupakan tombol yang menampilkan menu utama, Tampilan LCD saat menekan tombol menu utama yaitu jumlah orang yang sedang berada dalam ruangan dan tampilan jam pada saat itu. Gambar tampilan LCD pada menu utama dapat dilihat pada gambar 10.
Saat motor DC ON (infrared pertama terhalang) tegangan pada D0 sebesar 4,85V dan tegangan pada pin D1 sebesar 0,1V, kemudian saat infrared kedua terhalang, pada D0 sebesar 0,1V dan tegangan pada D1 sebesar 4,85V. Semua kondisi ini akan menjadi masukan dari IC L298 untuk mengontol putaran motor DC.
Keluaran IC L298 sesudah infrared terhalang, hasil pengujiannya terdapat pada tabel 4.
Table 4 Hasil pengujian keluaran IC L298
|
No |
Out IC L298 |
Membuka pintu |
Menutup pintu |
|
1 |
Q1 |
8,08 V |
0,05V |
|
2 |
Q2 |
0,05 V |
8,08V |
|
3 |
Q3 |
8,08 V |
0,05V |
|
4 |
Q4 |
0,05 V |
8,08V |
Kondisi saat motor DC ON (saat infrared pertama tehalang) tegangan pada Q1 sebesar 8,08V dan tegangan pada Q2 sebesar 0,05V. Tegangan ini akan menjadi masukan motor DC pada pintu masuk sehingga motor akan berputar ke arah kanan yang menyebabkan pintu masuk terbuka. Kondisi saat motor DC ON (saat infrared kedua terhalang) tegangan pada Q1 sebesar 0,05V dan tegangan pada Q2 sebesar 8,08V. Kondisi terbalik dari sebelumnya ini mengakibatkan motor DC pada pintu masuk akan
berputar ke arah kiri yang menyebabkan pintu masuk tertutup, begitu juga kondisi yang sama terjadi pada pintu keluar.
Rangkaian RTC (Real Time Clock) ini berfungsi untuk menampilkan jam, pin SDA ( Serial Data) dan SCL (Serial Clock) terhubung dengan pin A4 dan A5 arduino. Jam tersebut akan dipakai untuk menentukan timer lampu luar ruangan menyala atau padam, saat lampu yang berada di luar ruangan dihidupkan, yaitu pada pukul 18.00 dan jam 07.00 pagi hari lampu akan dimatikan secara otomatis. Gambar 11 menunjukkan pengujian waktu lampu di luar ruangan mulai hidup dan saat mati.

Gambar 11. Pengujian rangkaian RTC dengan arduino waktu lampu mulai hidup
Pengujian Rangkaian RTC dengan arduino sudah berhasil, saat lampu dihidupkan dengan setingan waktu (18:00) terukur pada pin D10 tegangan sebesar 4,8V. Tegangan ini akan menjadi masukan transistor switch 1, dengan tegangan ini relay akan aktif sehingga lampu yang ada di luar ruangan akan menyala. Nilai high dari pin D10 ini tidak akan berubah sampai dengan setingan lampu padam yang telah ditentukan. Pada saat lampu dipadamkan (jam 07:00), tegangan terukur dengan multi meter digital sebesar 0,7V. Tegangan ini tidak bisa mengaktifkan transistor switch 1 sehingga lampu yang ada di luar ruangan akan padam. Nilai low dari pin D10 akan berubah menjadi high saat jam tepat menunjukan setingan waktu hidup.
Saat sistem pertama kali dinyalakan tampilan pada LCD akan kosong, lakukanlah penyetingan dengan cara menekan tombol “menu seting” sekali maka akan muncul “set jam” pada layar LCD, lalu tekanlah tombol “OK”, maka akan muncul tulisan “waktu hidup” tekanlah tombol “OK” untuk masuk pada seting “waktu hidup”, setelah menekan tombol OK maka akan muncul tulisan “menit”, lalu tekanlah tombol “tampil”, maka akan muncul pada layar menu
seting. Lalu tekanlah tombol “seting” untuk mulai menyeting menit untuk menyalakan lampu misalnya, H 00:00. Setelah selesai menseting menit, lanjutkanlah dengan menseting jam dengan cara menekan tombol “menu seting” maka akan tampil tulisan “jam” sekitar 1 detik dan pada LCD akan kembali pada menu seting. Setelah itu tekan lagi tombol “seting” untuk memulai menseting jam waktu hidup misalkan, H 18:00.
Apabila sudah selesai menseting jam waktu hidup, maka lanjutkanlah untuk menseting waktu mati lampu di luar ruangan dengan cara menekan tombol “kembali” maka akan tampil pada LCD tulisan “waktu hidup” tekanlah tombol “menu seting” sampai tampil tulisan “waktu mati” kemudian tekanlah rombil “OK” maka akan tampil tulisan “minute” yang artinya untuk menseting menit pada menu waktu mati. Tekanlah tombol ”seting” untuk mulai menyeting menit. Setelah selesai menyeting menit misalkan, M 00:00, tekanlah tombol “menu seting” untuk mencari setingan jam, dan pada LCD akan tampil tulisan “hour”, mulailah menseting jam dengan menekan tombol “seting”, misalkan, M 07:00.
Setelah pensetingan jam dan menit untuk waktu hidup dan waktu mati selesai, maka lanjutkan dengan pensetingan batas jumlah pengunjung dengan cara, tekan tombol “kembali” beberapa kali sampai muncul tulisan “set jam” kemudian tekan tombol “menu seting” sekali sampai tampil tulidsn “set jml orang” yang artinya sudah masuk pada menu seting jumlah orang. Tekanlah tombol “seting” untuk mulai menseting batas pengunjung, pada pojok kiri atas LCD di menu seting, akan tampil angka, 0,10,20 sampai dengan 90. Pilihlah batas jumlah pengunjung misalkan 50, berarti ruangan hanya bisa menampung sebanyak 50 orang. Setelah selesai melakukan pensetingan tekanlah tombol “clear” untuk mengosongkan tampilan LCD agar tampilan tidak menumpuk, lalu tekan tombol “menu utama” yaitu untuk menampilkan menu utama yang isinya” jumlh orang” yaitu jumlah orang yang sedang berada dalam ruangan tersebut dan “waktu” adalah tampilan jam atau waktu saat itu. Sistem telah siap digunakan, apabila terjadi pemadaman listrik pensetingan harus dilakukan kembali.
Dari pembahasan yang telah diuraikan, maka dapat ditarik simpulan sebagai berikut:
-
1. Counter up sudah dapat menghitung naik ketika sensor infrared 2 dilewati dan counter down sudah dapat menghitung turun ketika sensor infrared 4 dilewati.
-
2. Motor DC pada pintu masuk dan pintu keluar sudah dapat berfungsi untuk membuka dan menutup pintu masuk dan pintu keluar.
-
3. LCD sudah menampilkan jumlah pengunjung yang berada dalam ruangan dan waktu saat itu pada tampilan menu utama.
-
4. Lampu dalam ruangan, AC 1 dan AC 2 sudah aktif ketika ada pengunjung yang memasuki ruangan. AC 3 dan AC 4 sudah aktif ketika pengunjung ruangan berjumlah lebih dari 20 orang.
-
5. RTC DS1307 sudah dapat menampilkan waktu dan menyalakan lampu di luar ruangan waktu sore hari pukul 18:00 dan mematikan lampu pada pagi hari jam 07:00
Karena keterbatasan yang ada, peralatan yang dibuat masih memiliki kekurangan – kekurangan diantaranya:
-
1. Untuk menghindari penyetingan ulang akibat tidak mendapat suplay tegangan sebaiknya sistem harus dilengkapi dengan UPS.
-
2. Agar bisa difungsikan untuk menyalakan AC dan lampu penerangan yang sebenarnya sistem harus ditambahkan kontaktor.
-
[1] Djuandi, Feri. 2011. Pengenalan Arduino, www.tobuku.com. Diakses Sabtu 14 Januari 2012.
-
[2] . Andi. 2007. Bahasa Pemrograman C Pada Arduino. http://blog.indorobotika.com/page/2. Diakses Jumat 9 Desember 2011
-
[3] . Wikipedia.2009. H bridge.
http://en.wikipedia.org/ wiki /H_bridge. diakses Jumat 18 November 2011.
-
[4]
____.2000.L298.http://www.datasheetcatalog.org /datasheet2/2/052daje928cw7pc0uqs1ipyryppy. pdf. diakses Sabtu 26 November 2011.
-
[5] ____.2008. Sensor Untuk Transducer. http://
elearning.gunadarma.ac.id/docmodul/ instrumentasi_untuk _pengukuran_rekayasa /bab5_ sensor_untuk_transduser.pdf. diakses Kamis 1 Desember 2011.
-
[6] ___.___.E18-D80NK-N.http:// www.61mcu.com/ upload/E18-D80NK-Manual-EN.pdf
-
[7] ___.2003.http://www.sparkfun.com/datasheets/ Components/DS1307.pdf. Diakses 9 Desember 2011.
Teknologi Elektro
49
Vol. 11 No. 1 Januari - Juni 2012
Discussion and feedback