Pemodelan Manajement Antrian …

Ayu Putri G.A, Ayu Rhamani S.

PEMODELAN MANAJEMEN ANTRIAN MEMANFAATKAN

KOMUNIKASI SELULER TERINTEGRASI LAN (LOCAL AREA NETWORK)

Gusti Agung Ayu Putri, Putu Ayu Rhamani Suryadhi

Staff Pengajar Teknik Elektro, Fakultas Teknik, Universitas Udayana

Kampus Bukit Jimbaran, Bali, 80361

Abstrak

Infrastruktur teknologi komunikasi seluler di Bali sudah semakin baik. Banyak provider yang berinvestasi dan memberikan layanan komunikasi seluler sehingga harga layanan ini menjadi semakin murah. Selain itu, di bidang perangkat lunak, OSS (Open Source Software) tumbuh pesat dengan berbagai sistem dan aplikasinya. Penelitian ini bertujuan menghasilkan sebuah model manajemen sistem antrian untuk memberikan nomer antrian dan waktu menunggu pelayanan kepada customer. Di sini, Web Service dirancang untuk menerima permintaan sebuah nomer antrian dari Customer dan selanjutnya menginformasikan nomer antrian beserta keterangan waktu menunggu ke ponsel Customer berupa pesan sms. Customer dapat meminta nomor antrian melalui tiga cara, yaitu pesan sms, mendial nomer yang ditentukan atau melalui web browser. Dengan demikian, efektifitas waktu tunggu dan kenyamanan Customer dalam menunggu giliran untuk mendapat pelayanan yang dibutuhkan dapat ditingkatkan. Customer datang ke pusat pelayanan apabila giliran nomer antriannya sudah mendekati waktu untuk mendapatkan pelayanan. Disain sistem ini dapat digunakan pada antrian layanan bank, pembayaran iuran PLN, Telkom, ataupun jasa layanan umum lainnya

Kata kunci : manajemen sistem antrian, komunikasi seluler, LAN

  • 1.    PENDAHULUAN

Kegiatan mengantri banyak kita temui dikehidupan sehari-hari. Sebagai contoh, antrian pada kegiatan transaksi di suatu Bank, pembayaran rekening telpon dan listrik, pembayaran pajak dan jasa layanan umum lainnya. Kegiatan mengantri ini seringkali mengambil waktu yang cukup lama, dan terkadang waktu tunggu antri lebih dari 1 jam. Tentu hal ini kurang menyenangkan dan cenderung memboroskan waktu.

Manajemen sistem antrian sangat diperlukan dalam mengatasi masalah tersebut. Selama ini, jasa layanan umum melakukan manajemen sistem antrian secara manual. Saat Customer datang ke tempat layanan, petugas memberikan nomor antrian, kemudian customer harus menunggu ditempat pelayanan hingga waktu perolehan layanan tiba.

Manajemen sistem antrian ini bisa memanfaatkan teknologi informasi dengan cara, pertama, customer meminta nomor antrian menggunakan fasilitas sms atau mendial suatu nomor yang disediakan oleh jasa layanan umum menggunakan telepon seluler. Selanjutnya, customer memperoleh pesan sms yang menginformasikan nomor antrian dan lama menunggu untuk dilayani. Cara kedua, jika customer memiliki akses ke internet, ia dapat meminta nomor antrian melalui website jasa layanan umum. Dengan demikian, manajemen sistem antrian ini dapat dilakukan secara otomatis. Customer dapat datang ke jasa pelayanan umum sesuai informasi waktu yang diterimanya. Pemanfaatan teknologi informasi pada manajemen sistem antrian dapat meningkatkan kenyamanan customer untuk memperoleh layanan.

  • 2.    STUDI PUSTAKA

    • 2.1.    Web Service

Web service dapat didefinisikan dalam berbagai cara:

  • >    Sebuah sistem software yang dirancang untuk mendukung interoporabilitas interaksi antar mesin dalam sebuah jaringan.

  • >    Kumpulan dari open protocols dan standar-standar yang digunakan untuk pertukaran data antara aplikasi-aplikasi atau sistem-sistem. Aplikasi-aplikasi software yang dibuat dari berbagai macam bahasa pemrograman dan dengan berbagai macam platform dapat menggunakan web service untuk pertukaran data pada jaringan komputer seperti internet.

  • 2.2.    Voice over IP

Voice over Internet Protocol (juga disebut VoIP, IP Telephony, Internet telephony atau Digital Phone) adalah teknologi yang memungkinkan percakapan suara jarak jauh melalui media internet atau yang dikirim melalui protokol internet (IP). Data suara diubah menjadi kode digital dan dialirkan melalui jaringan yang mengirimkan paket-paket data, dan bukan lewat sirkuit analog telepon biasa. Keuntungan VoIP adalah :

  • >    Biaya lebih rendah untuk sambungan langsung jarak jauh. Penekanan utama dari VoIP adalah biaya. Dengan dua lokasi yang terhubung dengan internet maka biaya percakapan menjadi sangat rendah.

  • >    Memanfaatkan infrastruktur jaringan data yang sudah ada untuk suara. Berguna jika perusahaan sudah mempunyai jaringan komunikasi data. Jika

memungkinkan jaringan yang ada bisa dibangun jaringan VoIP dengan mudah. Tidak diperlukan tambahan biaya bulanan untuk penambahan komunikasi suara.

  • >    Penggunaan bandwidth yang lebih kecil daripada telepon biasa. Dengan majunya teknologi penggunaan bandwidth untuk voice sekarang ini menjadi sangat kecil. Teknik pemampatan data memungkinkan suara hanya membutuhkan sekitar 8kbps bandwidth.

  • >    Memungkinkan digabung dengan jaringan telepon lokal yang sudah ada. Dengan adanya gateway bentuk jaringan VoIP bisa disambungkan dengan PABX yang ada dikantor. Komunikasi antar kantor bisa menggunakan pesawat telepon biasa

  • >    Berbagai bentuk jaringan VoIP bisa digabungkan menjadi jaringan yang besar. Contoh di Indonesia adalah VoIP Rakyat.

  • >    Variasi penggunaan peralatan yang ada, misal dari PC sambung ke telepon biasa, IP phone handset.

  • 2.3.    SMS (Short Message Service)

Short Messaging Service (SMS) merupakan salah satu layanan komunikasi seluler yang dikembangkan dan distandarisasi oleh ETSI. Keuntungan SMS adalah :

  • >    SMS dapat dibaca maupun dikirimkan, kapan pun dan dimana pun seseorang berada.

  • >    Seseorang dapat mengirimkan SMS ke nomor tujuan, meskipun ponsel tujuan sedang tidak aktif. Hal ini dikarenakan SMS memiliki masa tunggu. Jadi selama masa tunggu SMS belum habis, SMS akan tetap terkirim ke nomor tujuan meskipun terlambat.

  • >    SMS adalah layanan yang pasti ada pada semua sistem komunikasi seluler. Hal ini adalah karena SMS merupakan suatu standar untuk tiap perangkat komunikasi seluler.

  • >    SMS merupakan layanan yang murah.

  • >    Seseorang tidak dapat menolak SMS yang masuk ke perangkat komunikasi seluler.

  • 3.    METODE PENELITIAN

Data-data yang digunakan untuk membuat pemodelan manajemen sistem antrian memanfaatkan komunikasi seluler terintegrasi LAN bersumber dari pengamatan langsung dan penelitian kepustakaan. Data yang diamati dan digunakan dalam penelitian ini adalah:

  • >    Jenis-jenis jasa pelayanan umum

  • >    Jam buka dan tutup jasa pelayanan umum

  • >    Jumlah Operator yang melayani

  • >    Lama waktu pelayanan per jenis jasa layanan

  • >    Jumlah antrian Customer per hari.

  • >    Infrastruktur teknologi informasi dan komunikasi yang ada di pusat pelayanan.

  • 4.    HASIL DAN PEMBAHASAN

Pada disain ini, Customer akan mempunyai dua metode untuk meminta nomer antrian, metode pertama dengan menggunakan ponsel. Customer dapat meminta nomer antrian dengan menekan nomer telepon tertentu (nomer yang terhubung ke web service). Selain itu, Customer dapat juga mengirimkan pesan sms ke web service untuk meminta nomer antrian dan waktu pelayanan. Selanjutnya, web service membangkitkan nomer antrian dan waktu pelayanan, kemudian mengirimkannya ke ponsel Customer melalui pesan sms. Metode kedua dengan menggunakan web browser. Customer meminta nomer antrian dan waktu perolehan pelayan melalui website penyelenggara jasa layanan umum.

Customer dapat memilih salah satu diantara dua metode tersebut diatas. Perbedaan kedua metode ini adalah, apabila menggunakan metode pertama, customer dapat melakukan permintaan nomor antrian dari manapun ia berada asalkan ada jaringan komunikasi seluler. Sedangkan jika menggunakan metode kedua maka customer harus terkoneksi ke jaringan internet. Kedua metode tersebut diharapkan dapat meningkatkan kenyamanan customer untuk mendapatkan jasa pelayanan.

  • 4.1    Kebutuhan Perangkat Keras dan Perangkat

    Lunak

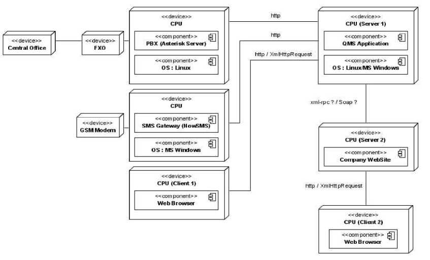
Perancangan perangkat keras (hardware) dan perangkat lunak untuk manajemen sistem antrian memanfaatkan komunikasi seluler terintegrasi LAN seperti ditunjukkan oleh gambar 1.

Perangkat keras yang digunakan terdiri dari komputer, FXO (Foreign eXchange Office) dan GSM modem. Berikut adalah deskripsi dari setiap komponen:

  • -    komputer, untuk mengolah dan membangkitkan nomor antrian dan waktu tunggu memperoleh jasa pelayanan.

  • -    FXO, berfungsi sebagai interface antara sentral kantor telepon dengan sistem VOIP.

  • -    GSM modem, bertugas mengirim pesan SMS dari perangkat komputer ke jaringan komunikasi seluler.

Perangkat lunak yang dibutuhkan adalah Sistem Operasi,VOIP server, SMS server, Web server dan basis data server.

Gambar 1. Deployment diagram manajemen sistem antrian memanfaatkan komunikasi seluler terintegrasi LAN


  • 4.2    Disain Manajemen Sistem Antrian Memanfaatkan Komunikasi Seluler Terintegrasi LAN (Local Area Network)

Manajemen sistem antrian memiliki tiga pengguna sistem yaitu, Customer, operator dan administrator. Customer adalah orang yang meminta nomor antrian untuk memperoleh jasa pelayan yang disediakan. Operator adalah orang yang memberikan jasa pelayanan yang dibutuhkan oleh customer. Contoh operator; teller, customer service, counter, dokter dan lain-lain. Sedangkan, admnistrator adalah teknisi yang mengelola sistem antrian yang memanfaatkan komunikasi seluler terintegrasi LAN.

Gambar 3. Proses permintaan nomor antrian dengan cara mendial nomor yang disediakan oleh jasa pelayanan.




Gambar 2. Fasilitas-fasilitas yang disediakan manajemen         Gambar 4. Proses permintaan nomor antrian menggunakan

sistem antrian untuk Customer                                  SMS (Short Message Service)

Gambar 5. Proses permintaan nomor antrian menggunakan web browser


Gambar 6. Fasilitas-fasilitas yang disediakan manajemen sistem antrian untuk Operator


  • 5.    KESIMPULAN

Customer memperoleh nomor antrian dan waktu tunggu untuk mendapatkan jasa pelayanan melalui dua metode, yaitu menggunakan teknologi komunikasi seluler atau melalui layanan internet.

  • 6.    PUSTAKA ACUAN

  • [1] . Ali Bahrami, Object Oriented Systems Development: Using The Unified Modeling Language, Computer science series, McGraw Hill International Edition 1999.

  • [2] . Ian Sommerville, Software Engineering, 6th

Edition, Addison Wesley, 2001

  • [3] . Roger S. Pressman, PhD, Software

Engineering: A Practitioner’s, Sixth Edition, Higher Education, McGraw-Hill International Eddition, 2005.

Teknologi Elektro

65

Vol. 7 No. 2 Juli - Desember 2008