Aplikasi PPI8255 dalam Sistem …

Raka Agung, Mahendra Wiadnyana

APLIKASI PPI8255 DALAM SISTEM ANTRIAN ELEKTRONIK BERBASIS KOMPUTER

I Gst. Ag. Pt. Raka Agung*, I Putu Mahendra Wiadnyana**

Email: puturaka@ee.unud.ac.id

* Staff pengajar Teknik Elektro, Fakultas Teknik, Universitas Udayana

** Alumni Teknik Elektro, Fakultas Teknik, Universitas Udayana Kampus Bukit Jimbaran, Bali, 80361

Abstrak

Teknologi perangkat kontrol berkembang sangat pesat, mengikuti kebutuhan hidup manusia. Perangkat kontrol semakin banyak dibutuhkan untuk membantu manusia dalam kehidupan sehari-hari. Telah diketahui bersama, bahwa komputer dapat dimanfaatkan untuk berbagai keperluan, diantaranya sebagai pusat kontrol peralatan-peralatan tertentu yang diantarmukakan pada port masukkan dan keluaran (I/O port). Dengan perantaraan IC PPI 8255 dapat dibuat suatu sistem antrian berbasis komputer. Komponen pendukung lainnya adalah driver seven segment, display seven segmen, printer, sound card dan saklar tekan, dengan memakai bahasa pemrograman Delphi. Dengan menggunakan sistem antrian ini diharapkan dapat membantu kenyamanan dan ketertiban suatu antrian pada pelayanan publik yang ramai. Aplikasi sistem ini adalah pada antrian layanan bank, rumah sakit, ataupun jasa layanan umum lainnya

Kata kunci : antarmuka, PPI 8255, seven segment, antrian

  • 1.    PENDAHULUAN

Teknologi perangkat kontrol mengalami perkembangan sangat pesat, berkembang dari masa ke masa seiring dengan meningkatnya kemampuan dan kebutuhan hidup manusia. Perangkat kontrol semakin banyak dibutuhkan untuk mengendalikan berbagai peralatan yang digunakan untuk membantu manusia dalam menjalankan tugasnya sehari-hari. Pada layanan umum banyak orang yang harus dilayani dan kalau orang yang melayani kurang kita biasanya diminta untuk mengantri atau berbaris satu-persatu untuk menunggu mendapatkan layanan. Hal ini sering kita lihat atau alami misalnya di bank, apotek, dokter praktek dan ditempat layanan umum lainnya. Tentu hal ini kurang menyenangkan dan cenderung memboroskan waktu.

Dengan semakin murah dan memasyarakatnya komputer banyak masalah kehidupan sehari-hari yang bisa diatasi, termasuk keidaknyamanan karena harus mengantri. Komputer bisa mengakses peralatan eksternal dengan perantaraan port masukan dan keluaran (port I/O). Karena keterbatasan pin data pada port jenis ISA kita memanfaatkan IC PPI8255 untuk menambah jumlah pin ini menjadi 24 pin, terbagi menjadi 3 port yaitu port A, port B dan port C dan bias sebagai masukan ataupun keluaran. Dari 24 pin ini kita bias mengatur IC untuk driverdisplaysevensegmen, menerima masukan dari saklar tekan,melakukan pencetakan pada printer dan mengaktifkan suara pada sound card. Ini semua dilakukan dari computer jenis Pentium III atau komputer yang mengandung slot ISA. Bahasa pemrograman yang dipakai adalah Delphi versi 5

Dengan menggunakan sistem ini diharapkan dapat meningkatkan kenyamanan pelayanan, konsumen tidak perlu kelelahan berdiri menunggu dibarisan antrian yang panjang dan mereka dapat dengan bebas melakukan aktivitas sebelum nomor antrian mereka ditampilkan di display nomor. Dari pihak pemakai sistem ini, mereka dapat memaksimalkan pelayanan terhadap konsumen, dengan membuat atau melakukan evaluasi dari proses kerja para operator dengan menggunakan sistem database dari sistem antrian ini.

  • 2.    TINJAUAN PUSTAKA

    • 2.1    Slot ISA IBM PC/XT

Suatu rangkaian kendali elektronik atau piranti luar yang lainnya dapat dihubungkan dengan sebuah komputer melalui suatu slot ekspansi yang disediakan. Komputer IBM PC/XT dan beberapa merk lainnya menyediakan beberapa slot ekspansi semacam slot ISA. Pada komputer yang lebih baru, slot ISA ini masih tersedia bersama slot-slot yang lain yang lebih baru dan lebih canggih lagi.

  • 2.2    PPI (Programmable Peripheral Interface) 8255

PPI (Programmable Peripheral Interface) 8255 adalah sebuah IC yang dirancang khusus untuk keperluan antarmuka (interface) pada sistem komputer. Rangkaian interface berfungsi sebagai antarmuka untuk keperluan kendali elektronik yang menghubungkan komputer dengan rangkaian luar (peripheral) seperti dengan keyboard, mouse, layar monitor, printer dan lain-lainnya. PPI 8255 merupakan satu contoh antarmuka yang dapat diprogram untuk keperluan tertentu.


PPI 8255 memiliki fungsi pin sebagai input/output dan sistem kontrol, fungsi dari pin-pinnya dapat dijelaskan sebagai berikut

  • 1.    Data Bus Buffer D0-D7 (Bidirectional), data bus buffer 8 bit digunakan untuk menghubungkan IC 8255 dengan sistem bus komputer.

  • 2.    Read, Write dan Control Logic, fungsi blok ini adalah untuk mengatur transfer data internal maupun ekternal serta status control word. Menerima data dari CPU address dan control bus.

  • 3    Chip Select (CS), sebagai masukan yang akan mengaktifkan (enable) IC 8255 sehingga proses read-write antara PPI 8255 dengan CPU dapat berlangsung bila pin ini aktif (aktif low).

  • 4.    Read (RD), pin ini aktif low, artinya PPI mengirim data/ informasi status ke data bus, memerintahkan CPU untuk membaca data dari input IC 8255.

  • 5.    Write (WR), Pin ini aktif low, berarti CPU menuliskan/mengirimkan data ke PPI 8255.

  • 6    A0 dan A1, berfungsi untuk menentukan tujuan register/bus data komputer dengan salah satu port dari PPI 8255.

  • 7.    Reset, untuk clear register kontrol dan seluruh Port diset kedalam mode input.

  • 8.    Port A (PA0-PA7),i port input/output yang dapat dihubungkan dengan perangkat luar.

  • 9.    Port B (PB0-PB7), port input/output yang dapat dihubungkan dengan perangkat luar.

  • 10.    Port C (PC0-PC7), port input/output yang dapat dihubungkan dengan perangkat luar. Hanya saja port ini dapat dibagi dua masing-masing 4 bit, yang digunakan untuk mengontrol Port A0-A7 serta Port B0-B7 dalam mode operasi tertentu.

  • 2.3 Seven Segment

Seven segment merupakan susunan dioda LED (Light Emitting Diode) yang disusun sedemikian rupa untuk menampilkan suatu karakter, baik itu angka maupun karakter yang lainnya. Ada dua jenis seven segment, yaitu seven segment katoda bersama (common katoda) dan anoda bersama (common anode). Karena terdiri dari beberapa led yang disusun, maka prinsip pengoperasiannya sama dengan led yang menghasilkan cahaya saat diberikan beda potensial pada kutub anoda dan katodanya.

Warna cahaya yang dihasilkan oleh led umumnya berwarna hijau, kuning dan merah. Tegangan drop pada led sebesar 1,8 volt – 2,2 volt diberikan ke kutub-kutub anoda dan katoda dengan bias maju (forward bias) dan dengan arus maksimum sebesar 20 mA. Led pada seven segment diberi simbol huruf a-g untuk mempermudah dalam pengoperasiannya.

  • 3.    PERANCANGAN

    • 3.1    Perancangan Perangkat Keras

Secara umum perancangan perangkat keras sistem antrian elektronik ini dapat dilihat pada Gambar 1. PPI 8255 dipasang pada slot ekspansi komputer, sedangkan port PPI 8255 dihubungkan ke perangkat input/output rangkaian seven segment. Rangkaian seven segment terbagi tiga group yang diberi nama “Display 1”, “Display 2” dan “Display 3”. Masing-masing “Display” terdiri dari tiga buah seven segment dan tiga buah IC Latch dan sebuah input berupa saklar tekan. Jadi setiap display mampu menampilkan tiga digit angka desimal. Speaker sendiri berfungsi sebagai penampil suara, dan printer untuk mencetak nomor antrian.

in


Kartu PPI


push switch


Display (seven segment)


out


Komputer/PC

Printer

Speaker

Layar Monitor


Data & switching seven segment


Gambar 1. Diagram blok perangkat keras system antrian elektronis

  • 3.2    Perancangan Perangkat Lunak

Perancangan perangkat lunak menggunakan bahasa pemrograman Delphi yang akan mengolah data input output dan inisialisasi dari PPI 8255. Pada perancangan perangkat lunak ini ada beberapa hal yang akan dilakukan antara lain :

  • 1.    Inisialisasi PPI 8255

  • 2.    Mereset seven segment dan menset-up data awal seven segment ‘0’

  • 3.    Pengiriman data sebagai input untuk driver seven segment

  • 4.    Mengirimkan data switch ke switching driver seven segment

  • 5.    Merancang kode untuk masing-masing penekanan saklar tekan

  • 6.    Mengolah data input dari saklar tekan untuk data seven segment

  • 7.    Membuat form untuk pencetakan nomor antrian

  • 8.    Membuat form Login/password untuk masing-masing operator

  • 9.    Membuat database dari data yang masuk

  • 10.    Membuat form untuk pencetakan laporan sistem antrian dari database

  • 11.    Membuat/mengolah suara pengingat perubahan nomor antrian.

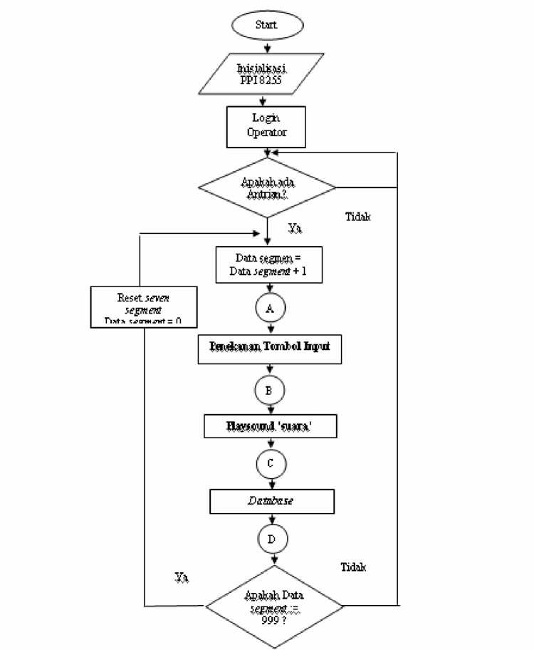
Proses perancangan perangkat lunak dan proses pengolahan input sampai data ditampilkan pada seven segment, dapat dilihat pada flowchart gambar 2.

Gambar 2. Diagram alir program utama..


Sedangkan subprogram A,B, C dan D masing-masing terdiri dari alur program pengiriman data, alur program suara, dan alur program penulisan ke database.

  • 4.    HASIL DAN PEMBAHASAN

Realisasi perangkat keras (hardware) dan perangkat lunak (software) dari sistem antrian ini

secara keseluruhan terlihat seperti Gambar 3. Sedangkan tampilan program pada layar monitor seperti terlihat pada Gambar 4. Jumlah antrian menunjukkan jumlah total antrian yang masuk (jumlah nomor yang di print). Seperti terlihat pada Gambar 4. jumlah antrian yang sudah masuk sebanyak sepuluh.


Gambar 3. Tampilan sistem antrian elektronis dengan computer

Gambar 4. Tampilan program sistem antrian..


Sedangkan tampilan yang lain merupakan aplikasi tambahan seperti tampilan kalender, tampilan “running teks”, serta searching data nomor yang masuk yang berfungsi untuk memudahkan dalam pencarian suatu nomor yang masuk ke database. Sedangkan tampilan GroupBox setting waktu print adalah untuk mengeset waktu dari pencetakan nomor antrian, merupakan batas waktu dalam melakukan pelayanan. Tombol-tombol “Reset”, “Stop”, “Ok” digunakan untuk mengeset waktu, dalam hal ini waktu untuk mencetak nomor antrian. Sedangkan tombol “Preview” untuk menampilkan tabel database yang akan dicetak/print dan tombol “Exit” untuk menutup/keluar dari program sistem antrian ini.

Selanjutnya dilakukan tahap pengujian dari sistem antrian yang telah dibuat untuk memastikan rangkaian telah bekerja sebagaimana mestinya. Pengujian yang dilakukan meliputi pengujian perangkat keras (hardware) dan pengujian perangkat lunak (software). Pengujian perangkat keras dilakukan dengan melakukan pengukuran dengan menggunakan alat ukur Multitester terhadap titik-titik pengukuran dan melihat tampilan seven segment/Display. Hasil pengujian menunjukkan peralatan system antrian ini sudah bekerja sesuai dengan perancangan.

  • 5.    KESIMPULAN

  • 1.    Untuk komunikasi antara PPI 8255 dan komputer, masing-masing port PPI 8255 dihubungkan dengan sebuah alamat sesuai dengan alamat kosong yang telah disediakan pada Prototype card computer. Inisialisasi PPI 8255 untuk menugaskan port-port PPI sebagai input atau output sehingga komunikasi dengan peralatan eksternal dapat berlangsung.

  • 2.    Komunikasi computer dengan display melalui port A, port B dan port C lower sebagai output yaitu kendali display seven segmen sedangkan port C upper sebagai input yaitu dari saklar tekan

  • 3.    Jumlah nomor antrian yang mampu dilayani oleh sistem antrian elektronik selama satu periode pelayanan adalah sembilan ratus sembilan puluh sembilan sesuai dengan jumlah display dari seven segment.

  • 6.    DAFTAR PUSTAKA

  • [1]    Arianto W, Haryono Eduard dan Fendy, 1994, Belajar Mikroprosesor Mikrokontroler Melalui Komputer PC, PT Elex Media Komputindo, Jakarta

  • [2]    Brey, Barry B, 2002, Mikroprosesor Intel edisi 5, Erlangga, Jakarta

  • [3]    Echols, John M. & Hassan Shadily, 1976, Kamus Inggris-Indonesia, Gramedia, Jakarta

  • [4]    Ibrahim, Kf., 2002, Teknik Digital, Andi, Yogyakarta

  • [5]    Kadir, Abdul, 2001, Dasar Pemrograman Delphi 5.0 Jilid 1, Andi, Yogyakarta

  • [6]    Kadir, Abdul 2002, Dasar Pemrograman Delphi 5.0 Jilid 2, Andi, Yogyakarta

  • [7]    Micro-Tech Publications, 1992, Mikroprosesor DataHand Book, Continental Press Pte Ltd, Dubai

  • [8]    Wasito, S, 1992, Data Sheet 1, PT Elex Media Komputindo, Jakarta

  • [9]    http://www.Kingbright.com/ Data Sheet Seven Segment

  • [10]    http://www.Philiplogic.com/ Data Sheet TTL

Teknologi Elektro

29

Vol. 7 No. 1 Januari - Juni 2008