IDENTIFIKASI PENURUNAN KWALITAS DAYA PADA PENYULANG MENGGUNAKAN KOMBINASI TRANSFORMASI WAVELET DAN NEURAL NETWORK
on
Identifikasi Penurunan Kwalitas Daya…
I Gede Dyana Arjana
IDENTIFIKASI PENURUNAN KWALITAS DAYA PADA PENYULANG MENGGUNAKAN KOMBINASI TRANSFORMASI WAVELET DAN NEURAL NETWORK
I Gede Dyana Arjana
Staf Pengajar Teknik Elektro, Fakultas Teknik, Universitas Udayana
Email: dyanaarjana@ee.unud.ac.id Kampus Bukit Jimbaran Bali, 80361
Intisari
Penggunaan peralatan listrik modern, terutama peralatan elektronika modern membangkitkan gelombang atau sinyal distorsi. Sinyal tegangan cacat tersebut langsung masuk ke sistem tenaga listrik Sinyal ini terlebih dahulu diuraikan menggunakan transformasi wavelet. Hasil transformasi berupa pola signal dalam bentuk koefisien ini digunakan dalam proses learning jaringan syaraf tiruan pada proses pembelajaran metoda neural network untuk mendapatkan target output. Hasil dari proses ini digunakan sebagai acuan untuk mengidentifikasi gangguan yang masuk ke jaringan.
Kata kunci : Kualitas daya, transformasi wafelet, jaringan syaraf tiruan.
Penyulang Tuban merupakan penyulang khusus memasok energi listrik ke Bandara Ngurah Rai Bali. Pada operasinya penyulang Tuban termasuk Sistem Distribusi Spindel. Seiring dengan peningkatan pelayanan terhadap pengguna jasa fasilitas bandara baik berupa kenyamanan penumpang dan peningkatan pelayanan lalu lintas udara dari dan ke bandara membutuhkan kontinyuitas dan kwalitas yang stabil. Kontinyuitas dan kwalitas daya yang disalurkan melalui saluran udara sering mengalami gangguan. dengan bantuan peralatan komputer dan Artificial Inteligent gangguan tersebut dapat diidentifikasi.
Pada sistem tenaga listrik, sering terjadi gangguan, gangguan harus secara cepat di deteksi. Gangguan yang terjadi dapat digolongkan dua kategori yaitu: yang bersifat transien, serta gangguan yang bersifat dinamik. Gangguan yang bersumber dari bermacam-macam peralatan sangat mengganggu kestabilan sistem. Penelitian yang mendeteksi dan mengklasifikasi jenis-jenis gangguan seperti: voltage sag , swell, transient, fluktuasi ferekuensi telah dilakukan. Usaha peningkatan kualitas daya listrik melalui penelitian menggunakan beberpa metode konvensional dan modern telah dikembangkan metode Artificial Intelegente (AI) mulai mengarah untuk peningkatan PQ, dengan penggabungan beberapa metode dalam mendapatkan sinyal yang ditraining sehingga mendapatkan proses deteksi yang diinginkan. Sinyal-sinyal yang ditangkap menggunakan metode transformasi wavelet, hasilnya dalam bentuk koefisient pada digital sinyal prosesing . Saat ini, banyak mempelajari peningkatan PQ yang diaplikasikan dalam dunia industri menggunakan kontrol
digital, dari kasus-kasus yang terjadi diselesaikan menggunakan teori-teori pada referensi. Kemudian studi -studi yang membahas manajemen tentang PQ menggunakan AI juga telah diaplikasikan. Peningkatan penelitian yang makin sepesifik yang membahas interruption dan voltage sag]. Transformasi wavelet digunakan menginformasikan sinyal sensor menggunakan dasar ferekunsi, sinyal gangguan pada sistem tenaga listrik terdiri dari ferekunsi utama , frekunsi tinggi, dan lain-lain. Oleh sebab itu, trasformasi wavelet sebagai media untuk mendapatkan informasi yang disebabkan oleh gangguan untuk dikenali dan diklasifikasi].
Mengaplikasikan wavelet dan Neural Network untuk menyelesaikan masalah gangguan pada sistem tenaga listrik. Kemampuan NN dalam beradaptasi atau proses pembelajaran untuk mengenal pola dan kemampuan mengingat dapat menyelesaikan masalah.
Pada penelitian digunakan yaitu: trasformasi wavelet sebagi proses pendeteksi sinyal yang digunakan untuk menangkap sinyal. Capture dilakukan dua kondisi, kondisi pertama keadaan normal dan kedua kondisi gangguan. Seperti yang ditunjukkan gambar 1. Kemudian proses identifikasi dilakukan melalui dua hal yaitu ; sistem keadaan normal dan keadaan terganggu dimonitor oleh Neural Network

Gambar 1. Alur Deteksi Sinyal Gangguan
Untuk mendeteksi gangguan yang masuk ke jaringan, pertama sinyal-sinyal tersebut terlebih dahulu ditransformasikan dengan menggunakan DWT, hasil dari proses berupa pola-pola sinyal dipakai sebagai input NN. Pola input ini digunakan sebagai acuan analisa pada proses pembelajaran jaringan syaraf tiruan. Proses ini akan berakhir sampai mendapatkan target output dari jaringan. Apabila ada baru yang masuk ke jaringan, maka sinyal terlebih dahulu ditransformasikan dan dianalisa )S kemudian untuk mengidentifikasi sinyal baru tersebut, jaringan akan membandingkan dengan pola detektor yang didapat dari proses pembelajaran. dari sistem yang dimonitoring. Setelah proses seleksi dilaksanaknan maka akan diidentifikasi apakah sinyal yang masuk berupa sinyal normal atau sinya yang terganggu.
Untuk mensimulasikan sistem tenaga listrik dan gangguan yang timbul digunakan pemodelan menggunakan simulink Matlab. Untuk mendapatkan data pengukuran yang dianalisis diambil merupakan data simulasi gangguan dari sistem. Data yang diambil adalah sinyal normal dan sinyal gangguan
Pada simulasi digunakan masukan deteksi adalah sinyal tegangan yang terganggu pada sistrem, sinyal ini diolah menggunakan descrette transform wavelet seperti Gb. 2.2 menunjukkan sinyal gangguan yang dibangkitkan beberapa jenis sinyal gangguan yaitu Sag, Swel, Flicker dan distorsi harmonik. Data output simulasi data merupakan data real

2.4. Pemodelan sistem gangguan
Saluran distribusi berfungsi sebagai penghubung antara pembangkit tenaga listrik dengan loa). Konduktor yang digunakan kebanyakan kawat atau kabel udara, saluran distribusi ini banyak mengalami gangguan dapat bersifat sementara ataupun permanen. Contoh gangguan saluran distribusi adalah terkena petir, kontak antar saluran: Fasa dengan nol, fasa - fasa dan lain-lain.. Gelombang frequensi tinggi dari switching capasitor, Gelombang frequensi rendah dari switchingd capasitor, voltage sag, voltage swell, transformer energizing, Flicker dan yang lainnya.
Pemodelan sistem pada penelitian ini mengacu pada Gb. 2.2 menunjukkan sistem sederhana yang digunakan sebagai∣a deteksiin gangguan. Skema keseluruhan untuk sistem klasifikasi secara otomatis ditunjukkan Gb. 2.3.
Normal
Gambar .3. Skema monitoring gangguan power quality

Prinsip kerja deteksi ini adalah dari jaringan atau bus-bar dipasang alat ukur CT atau PT, kemudian masuk ke tranduser untuk menangkap sinyal gelombang yang masuk kemudian dimasukkan ke digital signal processing
Jaringan syaraf tiruan merupakan representasi buatan manusia untuk mensimulasikan proses pembelajaran yang terjadi pada otak manusia. Istilah tiruan diimplementasikan menggunakan peralatan bantu berupa komputer terutama untuk menyelesaikan proses pehitungan dan penyimpanan informasi yang diberikan selama proses pembelajaran. Seperti halnya otak manusia, jaringan syaraf tiruan terdiri dari beberapa neuron yang saling berhubungan. Informasi yang diterima neuron akan ditransformasikan melalui jaringan keluarannya ke neuron yang lain, hubungan ini dikenal dengan nama bobot. Informasi - informasi tersebut disimpan pada suatu nilai tertentu pada bobot tersebut. Input diproses oleh suatu fungsi perambatan yang akan menjumlahkan nilai semua bobot yang datang. Hasil penjumlahan ini kemudian dibandingkan dengan nilai ambang (thershold) tertentu melalui fungsi aktivasi setiap neuron. Bila nilai input melewati nilai threshold maka neuron diaktifkan dan neuron tersebut akan mengirimkan nilai output melalui bobot-bobot output ke semua neuron yang terhubung, demikian seterusnya.
Jaringan syaraf tiruan memiliki struktur yang tidak dapat diubah, jaringan ini terdiri dari sejumlah neuron dan memiliki nilai tertentu yang menunjukkan berapa besar koneksi antara neuron. Perubahan yang terjadi selama proses pembelajaran adalah perubahan nilai bobot. Nilai bobot akan bertambah jika informasi yang diberikan tersampaikan, sebaliknya nilai bobot yang menghubungkan kedua neuron dikurangi. Pada proses pembelajaran dilakukan dengan input berbeda, maka nilai bobot diubah secara dinamis hingga mencapai suatu nilai yang seimbang. Apabila nilai ini tercapai, mengindikasikan bahwa setiap input telah berhubungan dengan target output yang diharapkan dan sistem dianggap konvergen. Berdasarkan pada proses pembelajaran, JS T dibedakan menjadi dua yaitu : a. Supervised ( terawasi )
Pada proses pembelajaran terawasi, satu pola input akan diberikan ke satu neuron pada lapisan input. Pola ini dirambatkan sepanjang jaringan sampai ke neuron pada layer outputnya. Layer output ini akan membangkitkan pola output yang akan dicocokkan dengan pola output target. Apabila terjadi perbedaan antara pola output hasil pembelajaran dengan pola target, maka akan muncul error. Jika nilai error masih cukup
besar harus dilakukan lagi proses pembelajaran lagi sampai nilai errar mencapai nilai yang diharapkan. Jadi pola input mempunyai pasangan output yang bersesuaian., penimbang (bobot) dibangun menuju kesesuaian respon pasangan input–output dari pola yang diajarkan.
-
b. Unsupervised (tidak terawasi)
Pada proses pembelajaran ini tidak diperlukan target output. Pada metoda ini tidak dapat ditentukan hasil seperti yang diharapkan. Selama proses pembelajaran nilai bobot disusun dalam range tertentu atau jaringan akan menentukan sendiri pasangan output dari input yang diberikan padanya, dengan dasar nilai kesesuaian dengan pola yang pernah diterima sebelumnya.
Jaringan Syaraf Tiruan Backpropagation merupakan algoritma pembelajaran yang terawasi, biasanya digunakan oleh perceptron dengan banyak lapisan untuk mengubah bobot yang terhubung dengan neuron pada lapisan tersembunyi ( Hidden Layer ). Algoritma backpropagation menggunakan error ouput untuk mengubah nilai bobotnya arah mundur
( backword ). Untuk mendapatkan error ini, tahap perambatan maju (forword propagation ) harus dikerjakan terlebih dahulu. Secara umum jaringan syaraf tiruan backpropagation terdiri atas satu atau lebih unit lapisan layer pemroses. Unit layer paling bawah (awal) adalah layer input yang berfungsi menerima input dari luar. Layer atasnya adalah layer hidden. Layer yang paling atas adalah layer output. Keluaran setiap sel pada layer input terhubung dengan semua sel pada layer hidden dan keluarannya terhubung dengan semua sel pada layer ouput.
Jaringan backpropagation dilatih dengan metode pelatihan pengawasan, jaringan dilatih dengan pasangan pola berisi pola input (Xi) dan pola output (Yk). Informasi yang masuk melalui layer input menuju layer hidden, kemudian menuju layer output dan hasil dari proses pembelajaran merupakan tanggapan jaringan terhadap informasi yang masuk. Apabila terdapat perbedaan antara keluaran inputnya dengan keluaran target yang di inginkan, bobot koreksi akan disesuaikan mulai dari lapisan keluaran output menuju lapisan masukan sampai perbedaan seminimal mungkin.
Misalkan ada inputan sebuah vector X = (X1Xi Xn) dimasukan ke layer input jaringan. Unit inputan mendistribusikan nilai tersebut pada unit layer hidden sehingga net masukan pada masing-masing unit hidden yang ke J adalah :
i
Zinj=Voj+∑XiVij ....... ( 2.1)
Struktur Jaringan Syaraf Tiruan multi layer dapat dilihat Gb. 4 berikut:

Gambar 4. Struktur Jaringan Syaraf Tiruan
Vij adalah bobot pada hubungan dari unit inputke i dengan unit layer hidden ke J dan Voj adalah bobot awal bias. Mmasukan Z_in j dikalikan fungsi aktifasi f untuk mendapatkan sinyal keluaran unit hidden (Zj) yang bernilai :
Zj=f(Z_inj) .................. ( 2.2 ) X3
Nilai yang didapat didistribusikan ke unit output :
p
Yink=Wok+ ∑ ZjWjk .......... (2.3 )
j=1
Perhitungan dari tiap unit output adalah jumlah seluruh input sinyal pada unit output (Y_in k) dikalikan dengan fungsi aktifasi :
Yk=f(Yink) ................... ( 2.4 )
Xn
Wjk menunjukan bobot yang menghubungkan unit ke J dari layer hidden unit ke K dari layer output. Tahap ini disebut feedfoward. Proses perhitungan eror ∩ propagasi mundur akan menghitung nilai kesalahan output. Bila output yang dihasilkan belum sesuai nilai target maka jaringan menghitung kembaliu error output :
δk=(tk–Yk)f’(Yink) ……… ( 2.5 )
∆Wjk=αδkZk ……………… ( 2.6 )
Nilai bobot koreksi pada bias adalah :
∆Wok=αδk ………....... (2.7 )
Nilai eror pada unit hiddennya adalah : m
δj = ∑ δk f’(Z in j) di mana
k =1
p
δ_in j = ∑ δk Wjk ............ ( 2.8 )
j=1
Menghitung bobot koreksi antara hidden dengan input, bobot ini dijumlahkan dengan bobot semula untuk mendapatkan bobot baru.
∆Vij= αδjXj ............... ( 2.9 )
Bobot bias antara unit hidden dengan unit input adalah : j2 k2
∆Voj=αδj..................
( 2.10 )
Tahap akhir merupakan tahap baru pada unit output adalah :
Wjk (new)= Wjk (old) + ∆Wjk
(update) bobot, bobot
( 2.11 )
dan bobot baru unit hidden adalah :
Layer Output
Vij(new)=Vij(old)+∆Vij … ( 2.12 )
Proses update bobot terus berlangsung sampai didapat output sesuai target, proses ini disebut training. Bobot akhir digunakan pada proses testing terhadap JST yang rencanakan.
Gangguan pada sistem tenaga listrik berupa sinyal gangguan dalam bentuk gelombang cacat, ditangkap oleh tranduser, sinyal tersebut dimasukkan kedalam Jbuffer untuk diubah menjadi sinyal diskrit kemudian sinyal dimasukkan pada blok DWT untuk di transformasikan, seperti Gb.5 dengan menggunakan ^r bantuam program Matlab 7.04 sehingga didapatkan dekomposisi energi sinyal gangguan
dan menghitung bobot koreksi antara unit output dengan unit hidden sehingga bobot koreksi ini dapat dijumlahkan dengan bobot semula mendapatkan bobot baru adalah :
Gambar 5. Permodelan transformasi wavelet
Gambar 7, DekomposisiEnergy flicker
Koefisien energi yang mewakili bentuk pola-pola energi dari setiap sinyal yang ditransformasikan ini oleh matlab kemudian disimpan ( dalam bentuk data file ). Selanjutnya koefisien ini digunakan sebagai input pada proses learning metoda Neural Network.
Pengujian dekomposisi energi adalah melihat energi sinyal gangguan secara acak menggunakan waktu yang sama. Setelah dilakukan pembangkitan detektor sistem diuji untuk mendeteksi pola sinyal yang masuk, baik berupa sinyal normal maupun sinyal cacat. Hasil transformasi wavelet dalam bentuk pola sinyal gangguan dan dekomposisi berupa level energi setiap sinyal yang diperoleh di tunjukkan pada Gb.6 sampai Gb.16
Gambar 8, Sinyal harmoniks
Gambar 6. Sinyal flicker
Gambar 9, DekomposisiEnergy harmoniks
Gambar 10. Sinyal voltage sag
Gambar 13. DekomposisiEnergy voltage swells
Gambar 11. DekomposisiEnergy voltage sag
Gambar 14. Sinyal Normal
Gambar 12. Sinyal voltage swells
Gambar 15. Dekomposisi Energy Sinyal Normal
Level Dekomposisi Energi
3.4. Hasil Learning Neural Network
MSE = 1.04158e-005
layer W deltaW Vbias Z
|
1 |
2.727 |
0.000 |
1.657 |
0.8553 |
|
2 |
2.417 |
0.000 |
1.623 |
0.8256 |
|
3 |
2.658 |
0.000 |
1.626 |
0.8441 |
|
4 |
2.163 |
0.000 |
1.457 |
0.7610 |
|
5 |
2.461 |
0.000 |
1.409 |
0.8185 |
|
6 |
3.059 |
0.000 |
1.781 |
0.8698 |
|
7 |
2.563 |
0.000 |
1.644 |
0.8029 |
|
8 |
2.713 |
0.000 |
1.654 |
0.8551 |
|
9 |
2.061 |
0.000 |
1.381 |
0.7716 |
|
10 |
2.546 |
0.000 |
1.560 |
0.8183 |
Wbias = 3.6494
Y = 0.9968
Alpha = 0.5000
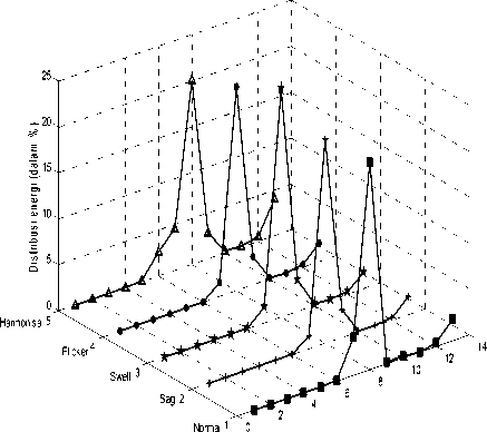
Gambar 16, Perbedaan distribusi energy semua sinyal gangguan
Pemodelan sistem mengacu pada Gb.2. menunjukan sistem sederhana yang digunakan sebagai deteksi sinyal gangguan. Skema monitoring Gb.3, merupakan rangkaian aplikasi monitoring dan identifikasi gangguan kualitas daya .
ANN didesain mempunyai variabel input yang berasal dari keluaran transformasi wavelet diskrit masing-masing sinyal gangguan , dengan menggunakan arsitektur Jaringan Saraf Tiruan Supervised seperti Gb.4 jumlah hidden layer input adalah 1 atau lebih sedangkan hidden layer outputnya digunakan satu sehingga terdapat perbedaan jumlah nilai pada masing-masing layernya. Pada proses pembelajaran harus dicapai konvergen dari proses iterasinya untuk mencapai target output jaringan yang dinginkan seperti Gb. 17 :

Epoch
Gambar 17, Kurva Konvergensi
Epoch = 4899
MSE = 9.2828e-006
layer W deltaW Vbias
Z
1 2.954 0.000 1.747 0.8606
2 2.445 0.000 1.428 0.8233
3 3.688 0.000 2.285 0.8875 4 3.799
0.000 2.149 0.9024
5 3.296 0.000 1.921 0.8800
6 2.797 0.000 1.763 0.8667
7 2.389 0.000 1.585 0.7961
8 3.002 0.000 1.826 0.8574
9 3.769 0.000 2.259 0.9042
10 2.923 0.000 1.822 0.8531
11 3.719 0.000 2.084 0.8992
12 2.762 0.000 1.830 0.8599
13 3.420 0.000 2.259 0.8840
14 3.862 0.000 2.253 0.9049
15 3.652 0.000 2.252 0.8870
16 3.103 0.000 1.896 0.8779
17 3.073 0.000 1.963 0.8613
18 3.912 0.000 2.223 0.9100
19 3.534 0.000 1.884 0.8881
20 2.541 0.000 1.522 0.8356
Wbias = 3.6674
Y = 0.9970
Alpha = 0.5000
Epoch = 5007
MSE = 1.18683e-005
layer W deltaW Vbias Z
|
1 |
1.897 |
0.000 |
1.141 |
0.7432 |
|
2 |
2.094 |
0.000 |
1.324 |
0.7594 |
|
3 |
1.751 |
0.000 |
0.910 |
0.7397 |
|
4 |
2.974 |
0.000 |
1.741 |
0.8652 |
|
5 |
2.371 |
0.000 |
1.613 |
0.8222 |
|
6 |
1.879 |
0.000 |
1.122 |
0.7309 |
|
7 |
2.484 |
0.000 |
1.787 |
0.8420 |
|
8 |
3.040 |
0.000 |
1.982 0.8746 | |
|
9 |
2.938 |
0.000 |
1.921 |
0.8508 |
|
10 |
2.326 |
0.000 |
1.735 |
0.8046 |
|
11 |
2.287 |
0.000 |
1.694 |
0.8085 |
|
12 |
2.861 |
0.000 |
1.868 |
0.8748 |
|
13 |
2.753 |
0.000 |
1.621 |
0.8103 |
|
14 |
2.423 |
0.000 |
1.652 |
0.8286 |
|
15 |
2.377 |
0.000 |
1.425 |
0.8183 |
|
16 |
2.781 |
0.000 |
1.584 |
0.8241 |
|
17 |
2.487 |
0.000 |
1.493 |
0.8021 |
|
18 |
2.489 |
0.000 |
1.454 |
0.8009 |
|
19 |
2.796 |
0.000 |
1.636 |
0.8374 |
|
20 |
2.843 |
0.000 |
1.759 |
0.8228 |
Wbias = 3.3279
Y = 0.9966
Alpha = 0.4000
Suatu konfigurasi JST yang digunakan, dengan menggunakan 1 unit hidden , alpha sama 0.5 tetapi jumlah neuron hidden layernya berbeda diperoleh epoch berbeda untuk target sama , makin besar neuronnya maka epoch makin besar. contoh epoch pada Alpha 0.5 dengan jumlah neuron 20 adalah 4048 sedangkan yang memakai neuron 65 adalah 5552, paling effisien adalah struktur jaringan dengan1 hidden layer dan alpha berkisar antara 0.5 sampai 0.55 serta banyaknya neuron dipilih sesuai dengan percobaan di atas. .
Dari analisa bisa diambil kesimpulan sebagai berikut
-
1 .Kombinasi transformasi wavelet cocok digunakan untuk menganalisa sinyal diskontinyu dan metode ANN dapat digunakan untuk menganalisa dan mengidentifikasi jenis gangguan.
-
2 Berdasarkan pengamatan, struktur Jaringan yang effisien digunakan
menggunakan 1 unit Hidden Layer, dengan jumlqah neuron berkisar 20 dan Alpha dipilih = 0.55, didapat hasil iterasi atau epoch yang paling singkat sebesar = 3680.
Untuk meningkatkan peranan metode kombinasi wavelet dan ANN dalam identifikasi gangguan, maka perlu didesain pengembangan metode ini agar dapat mengenali gangguan yang lebih spesifik adalah : Penggunaan sampling yang lebih banyak , sehingga didapatkan koefisien yang lebih detail.
-
[1] . Erik Thunberg, On the Benefit of Harmonic Measurments in Power System, Doctoral Dissertation Royal Institute of Technology, Departement of Electrical Enginnering, Electric Power System Stockholm 2001.
-
[2] . Haykin, Simon , 1994, “ Neural Network : A Comprehnsive Foundation”, Prentice Hall ,New Jersey.
-
[3] . I . Daubechies, Ten Lectures on Wavelets. Philadelphia, PA : Socieety Ind. Appl. Math ., 1992.
-
[4] . Jaehak Chung, Edward J. Powers, W. Mack Grandy, and Siddharth C. Bhatt, Power Disturbance Classifier Using a Rule-Based Method and Wavelet Packet-Based Hidden Markov Model, IEEE Transactions on Power Delivery, Vol. 17, No. 1, January 2002, pp 233241.
-
[5] . Jaehak Chung, Edward J. Powers, W. Mack Grandy, and Siddharth C. Bhatt, Power Disturbance Classifier Using a Rule-Based Method and Wavelet Packet-Based Hidden Markov Model, IEEE Transactions on Power Delivery, Vol. 17, No. 1, January 2002, pp 233241.
-
[6] . J. Schlabbach, D. Blume and T. Stephanblome, Voltage Quality in Electrical Power System, The Institute of Electrical Engineers, London, United Kingdom, 2001.
-
[7] . Lidong Zhang dan Math H. J Bollen, Characteristic of Voltage Dip (Sag) in Power System, IEEE Transactions on Power Delivery, Vol. 15 No. 2, April 2000, pp827-832.
-
[8] . M. Karimi, H. Mokhtari, and M. R . Iravani,” Wavelet Based on-line disturbance detection for power quality applications,” IEEE Trans. Power Delivery, vol. 15,pp. 1212 - 1220, Oct.2000.
-
[9] . M. Gaouda, S. H. Kanoun, M. M. A. Salama,and A.Y. Chikhani,”Pattern recognition application for power sytem disturbance classification,” IEEE Trans Power Delivery, Vol 17,pp. 677 – 683, July 2002
-
[10] . Marcio Magalhaes de Oliveira, Power Electonics for Mitigation of Voltage Sag and Improved Control of AC Power System, Doctoral Dissertation Royal Institut of Technology Departement of Electric Power Engineering Elctric Power System, Stockholm, 2000.
-
[11] . Micheal Misiti, Yves Misiti, Georges Oppenheim, Jean-Michel Poggi, Wavelet Toolbox, version 2.2, July 2002.
Teknologi Elektro
31
Vol. 6 No. 2 Juli – Desember 2007
Discussion and feedback