SIMULASI TEGANGAN DIP PADA JARINGAN TEGANGAN MENENGAH MENGGUNAKAN MODEL EMTP
on
Simulasi Tegangan DIP …
Agung Warsito dkk.
SIMULASI TEGANGAN DIP PADA JARINGAN TEGANGAN MENENGAH MENGGUNAKAN MODEL EMTP
Agung Warsito, Abdul Syakur, Nur Taat Sayekti
Jurusan Teknik Elektro – Fakultas Teknik – Universitas Diponegoro
Jl. Prof. Soedarto SH Tembalang – Semarang. Telp. Fax.: 024-7460057
Abstrak
Tegangan dip pada jaringan tegangan menengah (JTM) akibat adanya gangguan hubung singkat satu fasa ke tanah disimulasikan dengan menggunakan model EMTP ( Electromagnetic Transient Program ). Hasil-hasil gelombang tegangan dip yang ditampilkan untuk selanjutnya dianalisa.
Data-data jaringan tegangan menengah sebagai studi kasus diambil dari feeder srondol 1 ( SRL 1 ) yang menyuplai tenaga listrik ke kampus UNDIP Tembalang.
Berdasarkan hasil simulasi, didapatkan tegangan dip di titik gangguan hubung singkat satu fasa ke tanah pada belitan primer transformator DIII Teknik sebesar 61,5 % tegangan fasa-netral. Tegangan dip ini tidak mengganggu operasi beban listrik apabila terjadi kurang dari 0,2 detik. Sementara tegangan dip akibat gangguan hubung singkat satu fasa pada saluran antara percabangan Teknik Kimia dan saluran Teknik Mesin – Fakultas Perikanan dan Ilmu Kelautan sebesar 72,49 % dan tegangan dip ini tidak akan menyebabkan sistem tergganggu apabila terjadi kurang dari 0,5 detik.
Kata kunci : tegangan dip, kualitas daya, EMTP
Kualitas daya listrik ( Power Quality ) merupakan syarat yang harus dipenuhi supaya peralatan-peralatan listrik berbasis komponen elektronik yang sensitif terhadap variasi tegangan dapat berfungsi dengan benar. Jika kualitas daya tidak terpenuhi, maka dapat menyebabkan kerusakan pada peralatan tersebut misalnya disebabkan adanya tegangan dip.
Perangkat lunak Alternative Transients Program ( ATP ) dan ATPDraw yang merupakan bagian dari Electromagnetic Transients Program (EMTP) merupakan perangkat lunak (software) yang mampu membantu untuk membuat dan mengedit suatu bentuk / model dari jaringan / rangkaian listrik ke dalam komputer untuk kemudian disimulasikan dalam bentuk grafik.
Dengan menggunakan software ATP-EMTP besar tegangan dip yang terjadi dapat disimulasikan sehingga bisa dianalisa pengaruh perubahan tegangan terhadap beban listrik di sekitar atau di lokasi gangguan hubung singkat.
Sistem kelistrikan yang akan diambil sebagai studi kasus adalah jaringan tegangan menengah di kampus UNDIP Tembalang yang disuplai dari gardu induk dengan transformator 31,5 MVA, 150 /20 kV, 3 phasa, 50 Hz melalui feeder Srondol 1 (SRL 1 ) Asumsi yang digunakan dalam simulasi ini, yaitu :
-
1. Simulasi hanya pada salah satu fasa dan fasa yang lain dianggap tidak terpengaruh
-
2. Tegangan fasa - fasa yang keluar dari sekunder transformator GI diasumsikan 20 kV dan beban yang disuplai adalah seimbang
-
3. Susut tegangan pada jaringan diabaikan.
Tegangan dip adalah penurunan besaran tegangan efektif (rms) atau arus pada frekuensi daya dengan durasi waktu antara 0,5 sampai 30 cycle ( durasi pendek ). Tegangan dip pada sistem yang mengalami gangguan biasanya dengan waktu berkisar 5 sampai 6 cycle, dimana merupakan total waktu untuk mendeteksi gangguan dan CB akan bekerja untuk menghilangkan gangguan. Sedangkan waktu penghilangan gangguan berkisar antara 3 sampai 30 cycle tergantung magnitude arus gangguan dan jenis peralatan proteksi arus lebih.
Penelitian sebelumnya mengenai kualitas daya pada sistem distribusi mengindikasikan bahwa tegangan dip berkisar pada amplitudo 80 % dengan waktu berkisar 4 – 10 cycle . Tegangan dip berbeda dengan tegangan kurang (under voltage). Durasi tegangan kurang adalah lebih dari 1 menit dimana dapat dikontrol oleh peralatan regulasi tegangan dan disebabkan oleh sebab lain dari gangguan sistem. Oleh karena itu tegangan kurang dikelompokkan sebagai variasi tegangan durasi panjang.
Tegangan dip dapat disebabkan oleh hal – hal sebagai berikut :
-
- Secara umum disebabkan oleh gangguan pada sistem seperti gangguan hubung singkat.
-
- Pembebanan yang besar atau pengasutan motor berkapasitas besar.
-
- Kecelakaan saat perbaikan dalam keadaan bertegangan, lightning ( petir ) dan pohon tumbang yang menyebabkan gangguan ke tanah.
-
- Perubahan beban yang berlebihan / diluar batas dari kemampuan sistem daya.
Tegangan dip berpengaruh besar pada konsumen dengan beban listrik terutama peralatan elektronik yang sensitif terhadap perubahan tegangan. Tegangan dip ini dapat mempengaruhi operasi beban listrik sebelum CB bekerja untuk memadamkan gangguan. Dalam hal saluran yang dilengkapi dengan recloser, maka dapat terjadi beberapa kali tegangan dip sesuai waktu setting. Sedangkan durasi waktu tegangan dip yang disebabkan oleh pengasutan motor berkapasitas besar biasanya lebih lama, tetapi amplitudo tegangan dip tidak terlalu besar dan tidak cukup berpengaruh untuk menyebabkan peralatan listrik gagal operasi. Akibat dari tegangan dip oleh karena gangguan hubung singkat adalah sebagai berikut :
-
- Komputer dan jenis lain dari kontrol elektronik dapat kehilangan memori dan proses yang dikontrol menjadi kacau, jika tegangan dip mencapai kurang dari 50 %.
-
- Pada industri, proses akan berhenti untuk tegangan dip sampai dengan 65 % dan penerangan akan berkedip.
Karakteristik operasi beberapa peralatan listrik terhadap variasi tegangan adalah sebagai berikut :
-
- Rangkaian relai dan kontaktor akan trip pada tegangan dibawah 70 % tegangan nominal untuk waktu yang cepat.
-
- Lampu flourescent dan lampu discharge intensitas tinggi ( HID ) akan padam pada tegangan dibawah 80 % dalam waktu beberapa cycle, sedangkan waktu penyalaan kembali memerlukan waktu yang cukup lama terutama lampu HID.
-
- PLC akan trip pada tegangan kurang dari 90 % untuk waktu kurang dari 50 mdetik.
-
- Pada pemrosesan data atau komputer, data akan langsung hilang bila tegangan dibawah 50 % untuk waktu beberapa cycle.
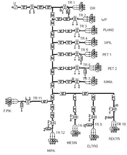
Untuk mensimulasikan tegangan dip pada sistem jaringan tegangan menengah, sebelumnya harus memodelkan diagram sistem kelistrikan ke dalam ATP – EMTP seperti ditunjukkan pada gambar 1.

Gambar 1. Tampilan model rangkaian sistem jaringan tegangan menengah kampus Undip Tembalang .
Dalam simulasi, peralatan dimodelkan sebagai berikut :
Sumber yang digunakan adalah sumber AC tiga fasa yang ditanahkan sesuai dengan sumber yang digunakan.
Digunakan model transformator 3 fasa dengan pentanahan pada titik netral sisi belitan primer dan sisi belitan sekunder. Kejenuhan inti diabaikan dengan anggapan transformator tidak dibebani dengan beban penuh, perbedaan phasa antara belitan primer dan belitan sekunder juga diabaikan c. Kabel
Kabel yang digunakan dalam sistem kelistrikan dimodelkan dengan Line RL. Admitansi diabaikan karena panjang saluran hanya beberapa ratus meter. d. Beban
Beban terbagi dua, yaitu beban linier dan beban tak linier. Beban linier disimulasikan dengan paralel elemen R dan L. Nilai R dan L dihitung dari daya aktif dan daya reaktif beban yang bersangkutan. Sedangkan untuk beban tak linier seperti komponen elektronik pada komputer disimulasikan dengan sumber arus harmonik konstan.
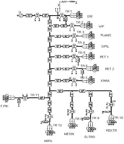
Gangguan Satu Fasa Ke Tanah Pada Belitan Primer Transformator di DIII Teknik
Simulasi gangguan terjadi pada terminal belitan primer transformator fasa ‘A’ dengan waktu 6 cycle sebelum alat proteksi bekerja. Tampilan model rangkaian ditunjukkan pada gambar 2.

Gambar 2. Penempatan gangguan satu fasa pada terminal belitan primer transformator DIII Teknik
Gangguan Satu Fasa Ke Tanah Pada Saluran antara Percabangan T.Kimia dan saluran T.Mesin-F.PIK
Simulasi gangguan terjadi pada saluran antara percabangan T.Kimia dan saluran T.Mesin-F.PIK fasa ‘A’ dengan waktu 6 cycle sebelum alat proteksi bekerja. Tampilan model rangkaian ditunjukkan pada gambar 3.

Gambar 3. Penempatan gangguan satu fasa ke tanah pada saluran antara percabangan T.Kimia dan saluran T.Mesin-F.PIK
Hasil simulasi ditunjukkan pada gambar 4 – 6 yang memperlihatkan amplitudo tegangan fasa –
netral pada cos ф = 1 di terminal primer transformator DIII Teknik, T.Kimia, Rektorat. Simulasi gangguan terjadi pada belitan primer transformator DIII Teknik fasa ‘A’ untuk waktu 6 cycle ( 120 mS ) sebelum alat proteksi bekerja.

Gambar 4. Amplitudo tegangan fasa – netral di primer
trafo DIII Teknik pada fasa ‘A’.

Gambar 5. Amplitudo tegangan fasa – netral di terminal primer trafo T.Kimia pada fasa ‘ A ‘.

Gambar 6. Amplitudo tegangan fasa – netral di terminal primer trafo Rektorat pada fasa ‘ A
Dari hasil simulasi saat gangguan terjadi di terminal primer transformator DIII Teknik di fasa A, penurunan tegangan yang terjadi pada terminal primer trafo DIII Teknik, T.Kimia, Rektorat untuk fasa ABC sama. Dapat dianalisa bahwa penurunan tegangan terbesar adalah 38,5% dari tegangan nominal. Dengan kata lain tegangan dip yang terjadi sebesar 61,5 % dari tegangan nominal. Dari standar tegangan dip yang diperbolehkan, kualitas daya dikatakan baik apabila tegangan dip tersebut terjadi kurang dari 0,2 detik. Hasil simulasi dalam bentuk angka dapat dilihat pada tabel 1.
Gambar 7. Amplitudo tegangan fasa – netral di terminal primer trafo DIII Teknik pada fasa ‘A’ .
Tabel 1. Amplitudo tegangan dip.
|
Terminal |
Teg. Nom. ( kV ) |
Fasa ‘ A ‘ (kV ) |
Fasa ‘ B ‘ ( kV) |
Fasa ‘ C ‘ ( kV ) |
|
Gangguan hubung singkat pada ke tanah pada Terminal Primer Transforator DIII Teknik | ||||
|
Terminal primer Trafo DIII Teknik |
11,54 7 |
7,1 |
11,53 |
11,48 |
|
Terminal primer Trafo T.Kimia |
11,54 7 |
7,1 |
11,53 |
11,48 |
|
Terminal primer Trafo Rektorat |
11,54 7 |
7,1 |
11,53 |
11,48 |
Gambar 8. Amplitudo tegangan fasa – netral di terminal primer trafo T.Kimia pada fasa ‘ A’
-
4.2 Gangguan Satu Fasa Ke Tanah Pada Saluran antara Percabangan T.Kimia dan Saluran T.Mesin-F.PIK
Hasil simulasi ditunjukkan pada gambar 7 – 9 yang memperlihatkan amplitudo tegangan fasa – netral pada cos ф = 1 di terminal primer transformator DIII Teknik, T.Kimia, Rektorat. Simulasi gangguan terjadi pada terminal beban SDP PPE 2 fasa ‘A’ untuk waktu 6 cycle ( 120 mS ) sebelum alat proteksi bekerja.
Dari hasil simulasi saat terjadi gangguan satu fasa ke tanah pada saluran antara percabangan T.Kimia dan saluran T.Mesin-F.PIK di fasa A, diperoleh penurunan tegangan terbesar adalah 27,51 % di terminal primer trafo T. Kimia dan Rektorat pada fasa A ( di titik gangguan ). Hal ini menunjukkan saat terjadi gangguan satu fasa ke tanah pada saluran antara percabangan T.Kimia dan saluran T.Mesin-F.PIK tegangan dip di titik gangguan adalah 72,49 % tegangan nominal.
Dari standar tegangan dip yang diperbolehkan, kualitas daya dikatakan baik apabila tegangan dip tersebut terjadi kurang dari 0,5 detik. Tegangan dip tersebut akan mengganggu beban pada titik gangguan dan juga cukup mengganggu tegangan pada feeder paralel yang berhubungan langsung.

Gambar 9. Amplitudo tegangan fasa – netral di terminal primer trafo Rektorat pada fasa ‘ A ‘.
Pada grafik yang bergaris tebal menunjukkan bahwa tegangan mengandung komponen harmonisa. Komponen harmonisa ini timbul akibat pengaruh konstanta – konstanta saluran dan beban tak linier. Komponen ini akan semakin berkurang di fasa – fasa yang sehat.
Hasil simulasi dalam bentuk angka dapat dilihat pada tabel 2.
Tabel 2. Amplitudo tegangan dip.
|
Terminal |
Teg. Nom. ( kV ) |
Fasa ‘ A ‘ (kV ) |
Fasa ‘ B ‘ ( kV) |
Fasa ‘ C ‘ ( kV ) |
|
Gangguan hubung singkat ke tanah Pada Terminal Primer Transforator DIII Teknik | ||||
|
Terminal primer Trafo DIII Teknik |
11,547 |
8,48 |
11,52 |
11,48 |
|
Terminal primer Trafo T.Kimia |
11,547 |
8,37 |
11,54 |
11,47 |
|
Terminal primer Trafo Rektorat |
11,547 |
8,37 |
11,54 |
11,47 |
-
1. Hasil simulasi tegangan dip akibat gangguan satu fasa ke tanah pada belitan primer transformator DIII teknik adalah 7,1 kV ( 61,5 % dari tegangan fasa-tanah) jika dibandingkan dengan standar tegangan dip yang diperbolehkan maka kualitas daya dikatakan baik jika tegangan dip kurang dari 0,2 detik
-
2. Hasil simulasi tegangan dip akibat gangguan satu fasa ke tanah pada saluran antara percabangan Teknik Kimia dan Saluran T.Mesin-F.PIK adalah 8,37 (72,49% dari tegangan fasa-netral) jika dibandingkan dengan standar tegangan dip yang diperbolehkan, kualitas daya dikatakan baik jika tegangan dip kurang dari 0,5 detik.
-
3. Penurunan tegangan pada terminal primer trafo DIII Teknik, T. Kimia, Rektorat untuk
penempatan gangguan pada terminal trafo DIII Teknik sebesar 38,5%, 0,15%, 0,58% tegangan fasa-netral
-
4. Penurunan tegangan pada terminal primer trafo DIII Teknik, T. Kimia, Rektorat untuk
penempatan gangguan pada saluran antara percabangan T.Kimia dan saluran T.Mesin-F.PIK sebesar 27,51%, 0,06%, 0,67% tegangan fasa-netral
-
[1] . Dave M., Mark McGranaghan, Effect of Voltage Sags in Proses Industry Aplication, http://www.dranetz-
bmi.com/pdf/ProcessIndustryAplications.pdf, Juni 2005.
-
[3] . EPRI, Electromagnetic Transients Program ( EMTP ), Version 1, Revised Rule Book,
Vol.1:Main Program, EPRI EL-4541-CCMP, Palo Alto, California, April 1986.
-
[4] . Gonen Turan, Electric Power Distribution System Engineering, McGraw-Hill, United States of America, 1986.
-
[7] . L. Kumpulainen, J. Hautala, K. Kauhaniemi, Voltage Dip Mitigation Possibilities In Industrial Distributions System, VTT processes.
www. vtt.fi/pro/tutkimus/tesla/tshrapkooste/interi m_2002_kumpulainen.pdf. Juli 2005. Juli 2005.
-
[8] . M. Stephens, M. McGranaghan, M. Bollen, Evaluating Voltage Dip Immunity Of Industrial Equipment, EPRI Solution.
http://www.f47testing.com/voltage_dip_immunit y.html. September 2005.
-
[9] . RC. Dugan, Electrical Power System Quality, McGraw-Hill, New York, 1996.
-
[12] .Wilson E, Kazibwe, Ph.D., Electric Power Quality Control Techniques, Van Nostrand, Reinhold, 1993.
-
[13] .Wu Jun, Simulation of Power Quality Problem an a University Distribution System, Guangxi Water Resources & Electric Power Design Institute, PR. China.
http://www.itee.uq.edu.au/~saha/pqpaper.pdf, Juni 2005.
-
[14] . XLPE-Insulated Medium Voltage Cables
N2XS(F)2Y.
www.fabercable.de/datenblaetter/en/DBL_1_06_ N2XS(F)2Y.pdf. September 2005.
-
[15] .Zuhal, Dasar Tenaga Listrik Dan Elektronika Daya, PT Gramedia Pustaka Utama, Jakarta, 1992.
-
[16]........................., Voltage Dip Standart
http://www.grouper.ieee.org/groups/sag/IEEEP1 564_99_01 Juni 2005
Teknologi Elektro
5
Vol. 8 No.1 Januari - Juni 2009
Discussion and feedback